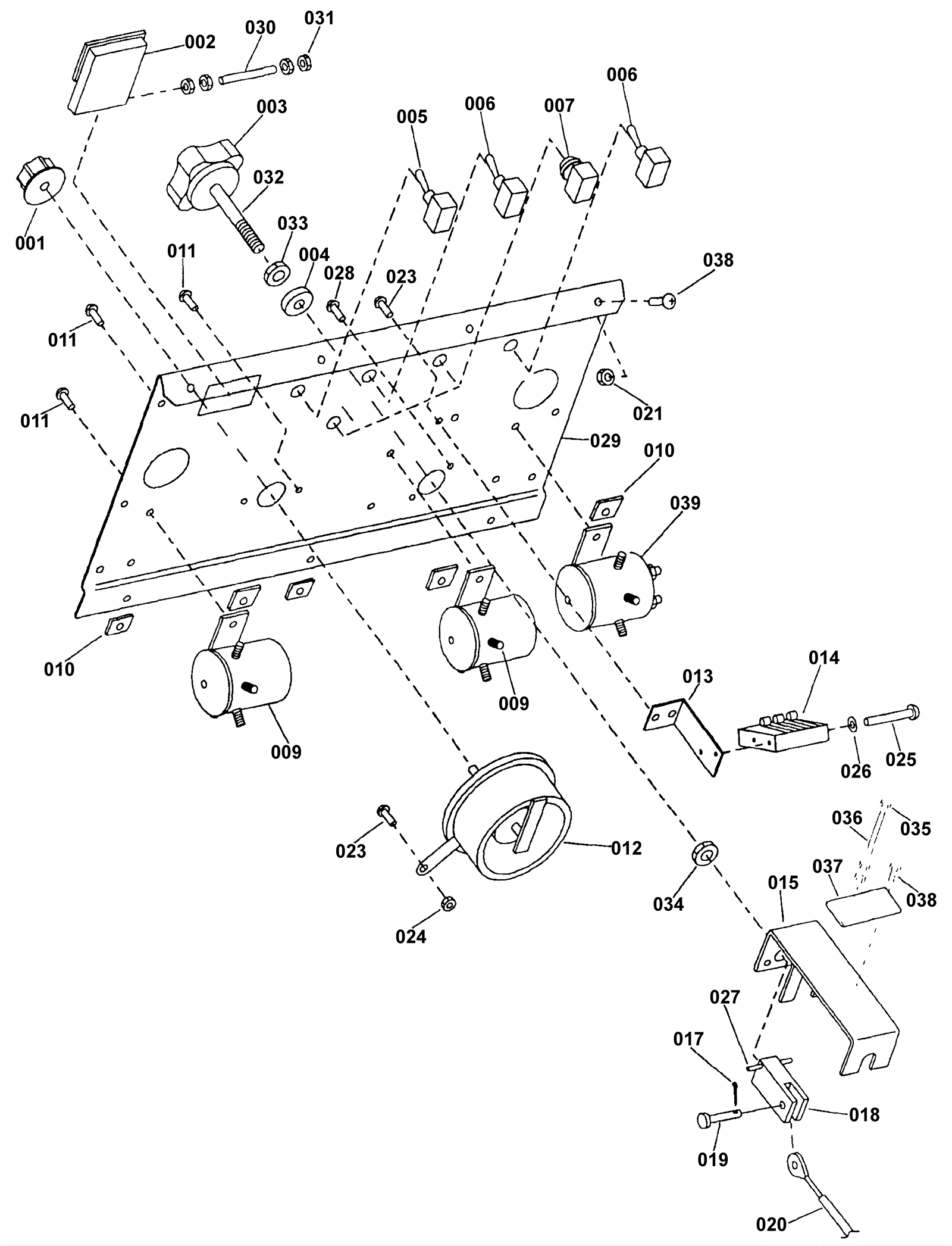
Control Panel Assembly
Click to enlarge