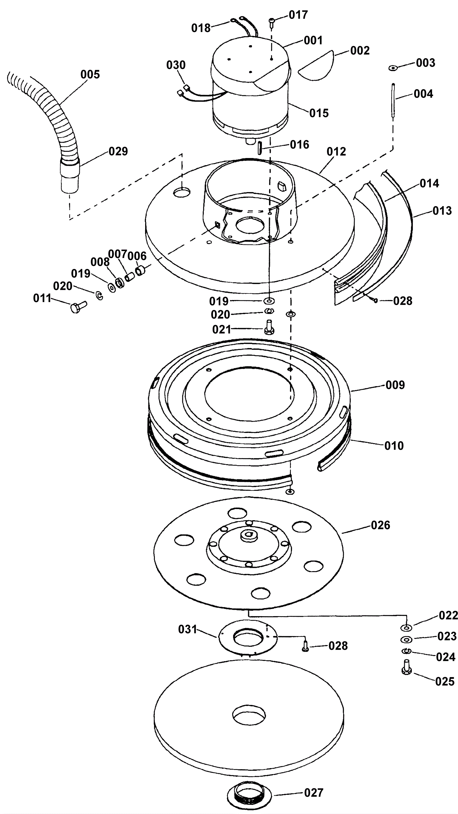
Pad Head Assembly
Click to enlarge