| # | Part | Description | Price | Req | Notes | Availability |
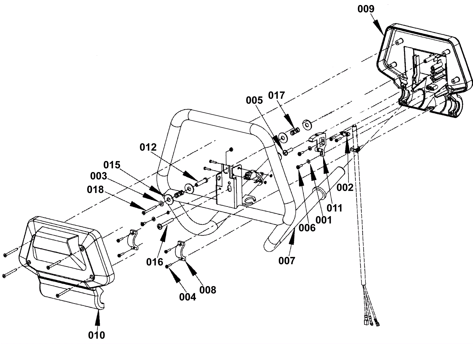
001 |
999-9089
|
Washer M4 flat stainless steel |
$0.99
|
4 |
|
ships same day |
002 |
272-2693
|
Clamp (OBSOLETE) |
$10.52
|
1 |
|
usually ships 13-18 days |
003 |
172-3762
|
Washer 6 X 12 1/2 flat (OBSOLETE) |
$7.59
|
1 |
|
usually ships 1-5 days |
004 |
999-0738
|
Screw M3-.5 x 16mm pan head phillips zinc |
$0.99
|
1 |
|
ships same day |
005 |
999-0518
|
Bolt M6-1 x 25mm hex head full thread zinc |
$0.99
|
1 |
|
ships same day |
006 |
272-1957
|
Screw M4-.7 x 14mm |
$9.35
|
2 |
|
usually ships 1-5 days |
007 |
272-1954
|
Handle bar (OBSOLETE) |
$184.14
|
1 |
|
usually ships 1-5 days |
008 |
272-1958
|
Clamp |
$12.71
|
2 |
|
usually ships 13-18 days |
009 |
172-4493
|
Rear switch housing |
$38.21
|
1 |
|
usually ships 13-18 days |
010 |
272-1948
|
Front switch housing (OBSOLETE) |
$19.80
|
1 |
|
usually ships 13-18 days |
011 |
272-6318
|
Micro switch cam |
$15.95
|
1 |
|
usually ships 13-18 days |
012 |
272-1951
|
Sleeve |
$22.61
|
1 |
|
usually ships 1-5 days |
015 |
272-1950
|
Washer M5 x 25mm plastic |
$12.71
|
4 |
|
usually ships 1-5 days |
016 |
999-1991
|
Screw M6-1.0 x 50mm pan head phillips zinc |
$1.03
|
1 |
|
usually ships 16-20 days |
017 |
172-2036
|
Compression spring |
$12.89
|
2 |
|
usually ships 13-18 days |
018 |
272-1947
|
Screw flat head |
$10.01
|
5 |
|
usually ships 13-18 days |