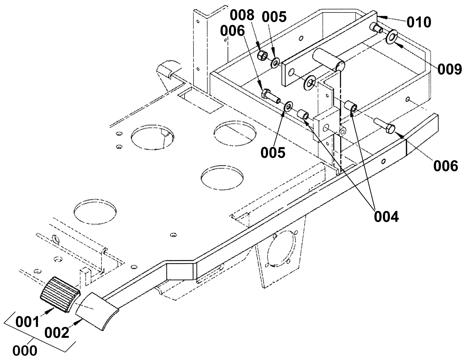
| # | Part | Description | Price | Req | Notes | Availability | 
|---|
          
            
            
                
                  
                  
                  
				       
				      000 | 272-1985 | Pedal assembly | $93.46 | 1 | (includes 001 and 002) | usually ships 1-5 days | 001 | 272-1983 | Rubber pedal pad | $11.35 | 1 |  | usually ships 13-18 days | 002 | 272-1984 | Pedal weldment | $137.59 | 1 |  | usually ships 1-5 days | 004 | 272-8092 | Spacer | $14.21 | 2 |  | usually ships 1-5 days | 005 | 999-1267 | Washer M8 flat zinc | $0.99 | 6 |  | ships same day | 006 | 999-0581 | Bolt M8-1.25 x 25mm hex head full thread zinc | $0.99 | 2 |  | ships same day | 008 | 999-0471 | Nut M8-1.25 nylon insert lock zinc plated | $0.99 | 2 |  | ships same day | 009 | 172-4496 | Washer | $8.80 | 2 |  | usually ships 13-18 days | 010 | 272-1989 | Lever | $76.03 | 1 |  | usually ships 1-5 days |