| # | Part | Description | Price | Req | Notes | Availability |
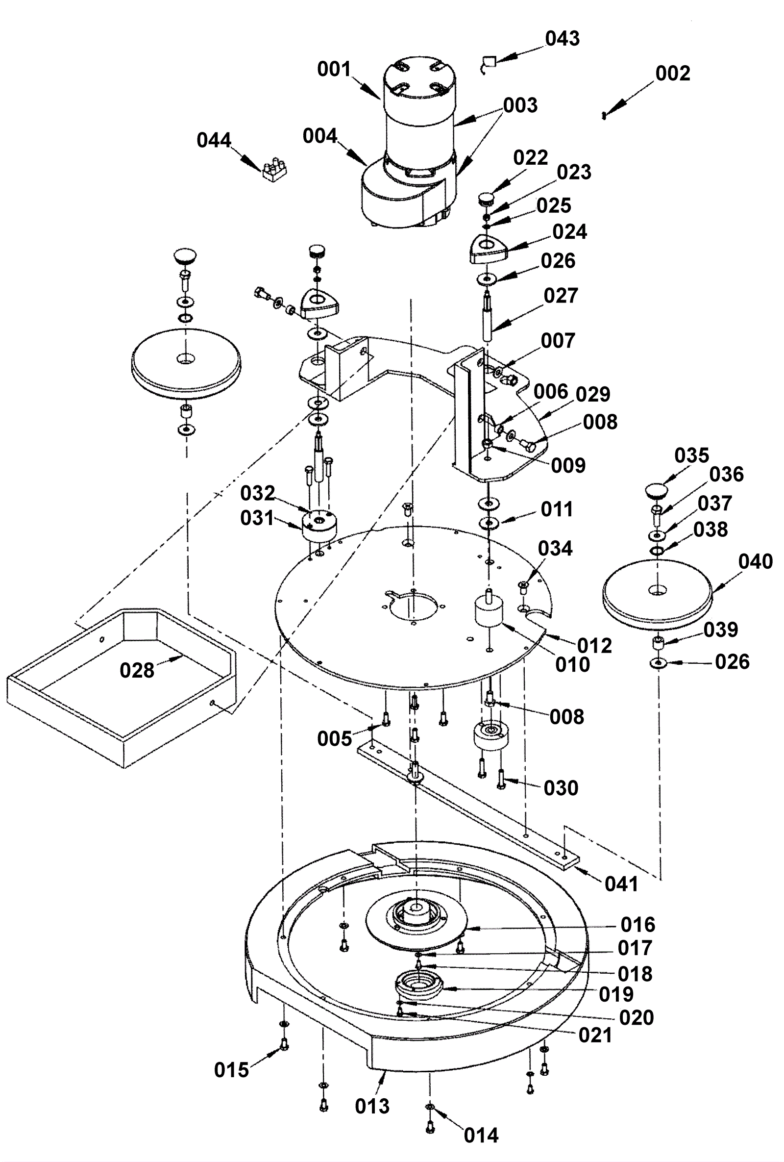
002 |
181-0942
|
Square keyway |
$51.96
|
1 |
|
ships same day |
003 |
272-2571
|
Brush gear motor assembly |
$2,618.28
|
1 |
(includes 004) |
usually ships 13-18 days |
005 |
272-1914
|
Screw M6-1 x 16mm hex head |
$10.01
|
4 |
|
usually ships 1-5 days |
006 |
272-7136
|
Bushing (OBSOLETE) |
$11.99
|
4 |
|
usually ships 13-18 days |
007 |
999-1267
|
Washer M8 flat zinc |
$0.99
|
4 |
|
ships same day |
008 |
999-0517
|
Bolt M8-1.25 x 16mm hex head full thread zinc |
$0.99
|
5 |
|
ships same day |
009 |
999-0579
|
Nut M8-1.25 hex coarse thread zinc |
$0.99
|
1 |
|
ships same day |
010 |
272-1919
|
Vibration damping M8 (set of 2) |
$51.96
|
1 |
|
ships same day |
011 |
172-5079
|
Washer M9 x 28mm flat (OBSOLETE) |
$8.80
|
1 |
|
usually ships 13-18 days |
012 |
272-1920
|
Base plate (OBSOLETE) |
$108.90
|
1 |
|
usually ships 1-5 days |
013 |
272-1921
|
Brush cover (OBSOLETE) |
$38.28
|
1 |
|
usually ships 13-18 days |
014 |
N/A
|
Not available |
Call for price
|
7 |
(Washer M7 thick rubber) |
usually ships 3-26 days |
015 |
272-1923
|
Screw M6-1 x 12mm hex head |
$10.31
|
7 |
|
usually ships 1-5 days |
016 |
572-9298
|
Polygonal flange |
$81.07
|
1 |
|
usually ships 13-18 days |
017 |
272-0758
|
Washer M6 flat (OBSOLETE) |
$9.13
|
1 |
|
usually ships 1-5 days |
018 |
999-0581
|
Bolt M8-1.25 x 25mm hex head full thread zinc |
$0.99
|
1 |
|
ships same day |
019 |
172-0469
|
Brush hub |
$39.83
|
1 |
|
usually ships 13-18 days |
020 |
172-4471
|
Washer M6 |
$8.80
|
3 |
|
usually ships 1-5 days |
021 |
272-0733
|
Screw M6-1 x 20mm socket head stainless steel |
$8.03
|
3 |
|
usually ships 1-5 days |
022 |
272-8031
|
Plug |
$12.71
|
2 |
|
usually ships 13-18 days |
023 |
999-0743
|
Nut M5-.8 hex coarse thread |
$0.99
|
2 |
|
ships same day |
024 |
272-1931
|
Knob |
$13.97
|
2 |
|
usually ships 13-18 days |
025 |
999-0006
|
Washer 3/16 flat zinc plated |
$0.99
|
2 |
|
ships same day |
026 |
272-1933
|
Rubber gasket (OBSOLETE) |
$8.80
|
2 |
|
usually ships 13-18 days |
027 |
272-1934
|
Adjustment screw |
$29.55
|
2 |
|
usually ships 13-18 days |
028 |
272-1935
|
Frame (OBSOLETE) |
$62.96
|
1 |
|
usually ships 1-5 days |
029 |
N/A
|
Not available |
Call for price
|
1 |
(Plate) |
usually ships 3-26 days |
030 |
999-0779
|
Screw M6-1 x 25mm hex head plain finish |
$0.99
|
2 |
|
ships same day |
031 |
272-7135
|
Buffer |
$29.55
|
2 |
|
ships same day |
032 |
272-1939
|
Vibration damping plate |
$15.62
|
1 |
|
usually ships 13-18 days |
034 |
272-1941
|
Screw M8-1.25 x 12mm countersunk head (OBSOLETE) |
$7.99
|
2 |
|
usually ships 1-5 days |
035 |
172-4695
|
Locking tank cap |
$17.74
|
2 |
|
usually ships 13-18 days |
036 |
999-0581
|
Bolt M8-1.25 x 25mm hex head full thread zinc |
$0.99
|
2 |
|
ships same day |
037 |
999-1267
|
Washer M8 flat zinc |
$0.99
|
2 |
|
ships same day |
038 |
272-1944
|
Washer spring |
$9.13
|
2 |
|
usually ships 1-5 days |
039 |
272-1945
|
Sleeve bushing (OBSOLETE) |
$8.90
|
2 |
|
usually ships 1-5 days |
040 |
272-1666
|
Bumper roller |
$14.21
|
2 |
|
usually ships 13-18 days |
041 |
N/A
|
Not available |
Call for price
|
1 |
(Fitting strip) |
usually ships 3-26 days |
043 |
181-0944
|
Carbon brush set |
$253.09
|
1 |
|
usually ships 13-18 days |
044 |
272-1906
|
Terminal block (OBSOLETE) |
$6.53
|
1 |
|
usually ships 1-5 days |
KIT |
172-4845
|
Polygonal holder with flange kit |
$122.39
|
1 |
(includes 016 and 021, not interchangeable with 181-1755) |
ships same day |
KIT |
272-1940
|
Isolator kit |
$76.54
|
1 |
(includes 031 and 032) |
usually ships 13-18 days |