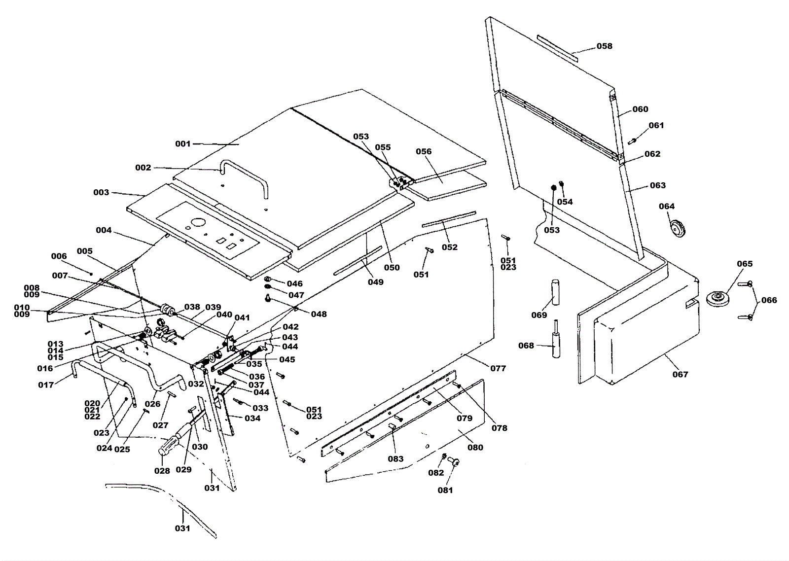
Outer Cover Assembly
Click to enlarge