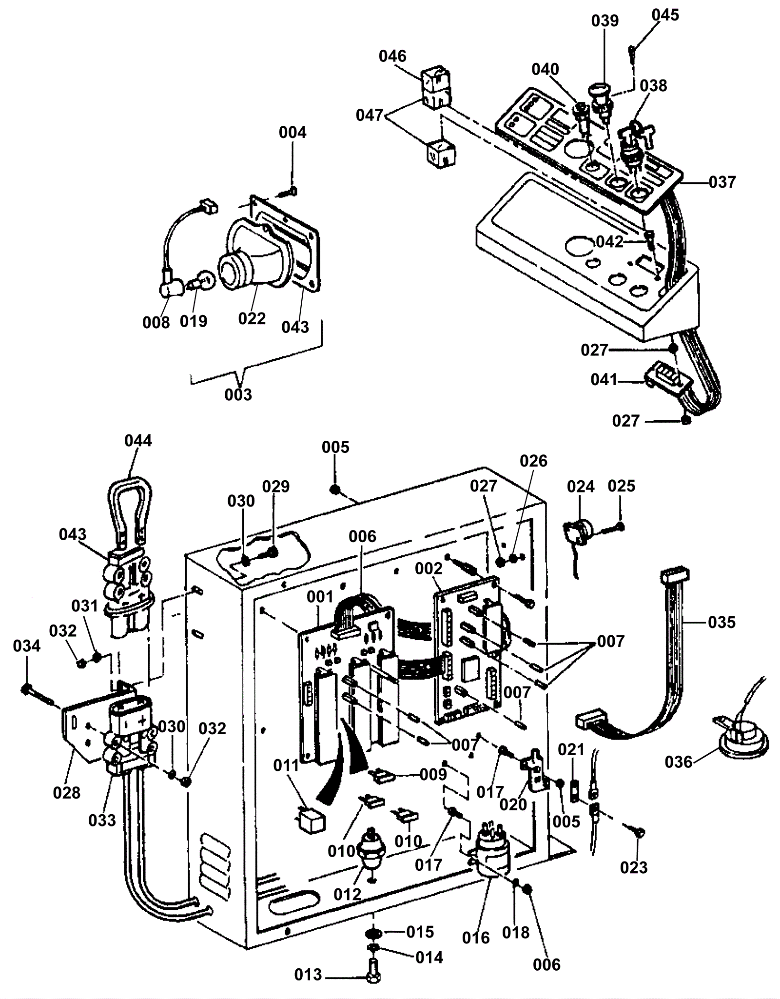
Control Panel
Click to enlarge