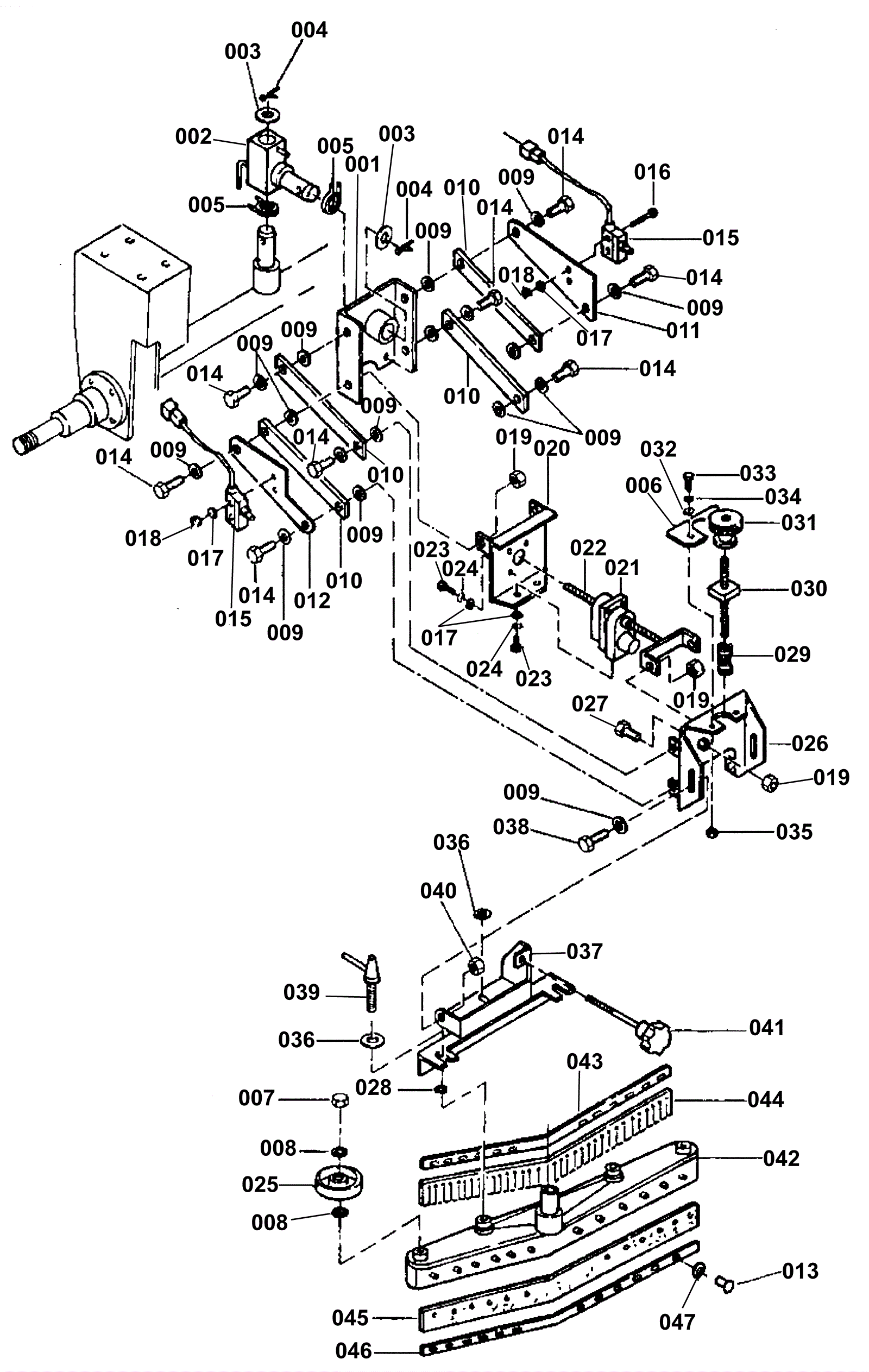
Squeegee System
Click to enlarge