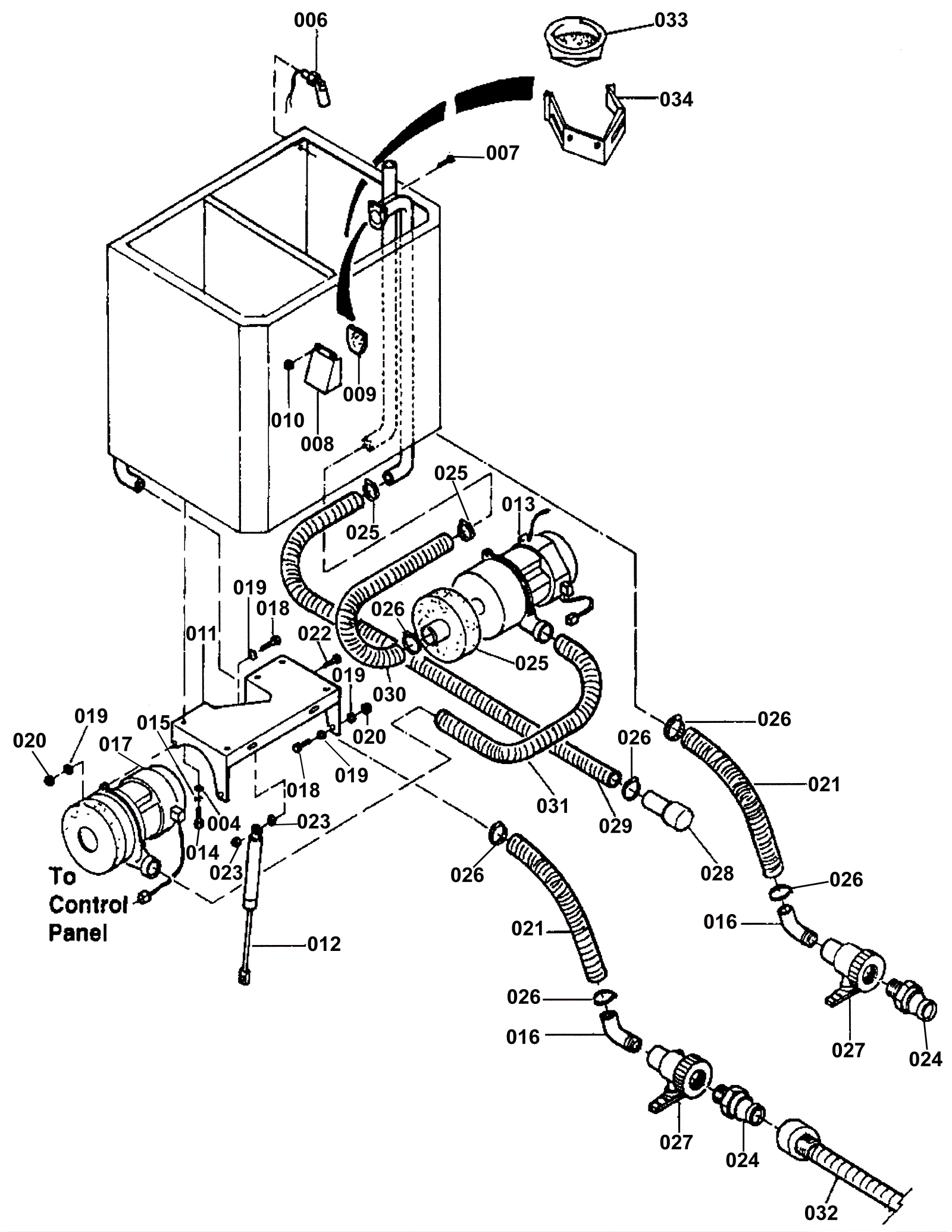
Recovery System
Click to enlarge