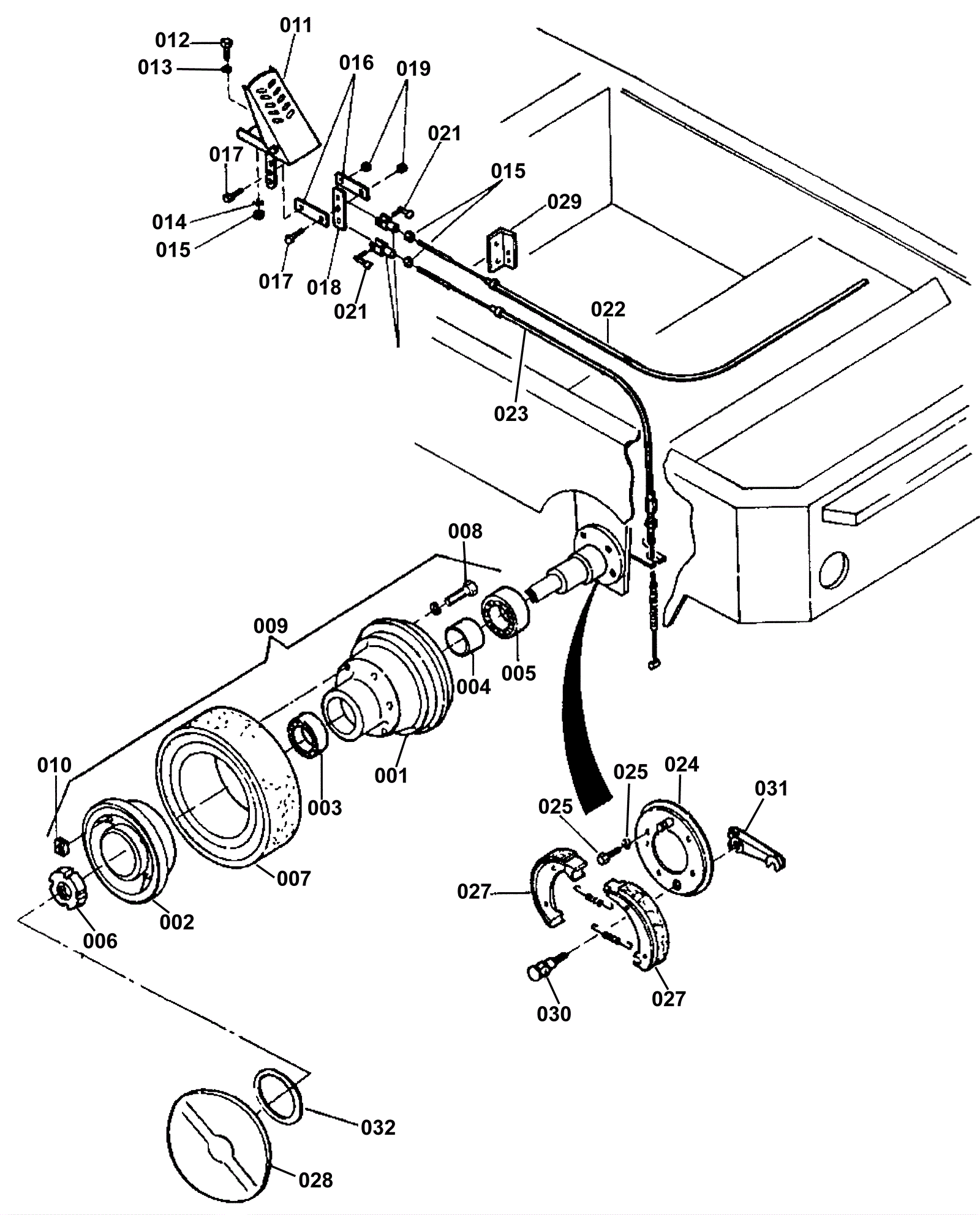
Rear Wheel and Brakes
Click to enlarge