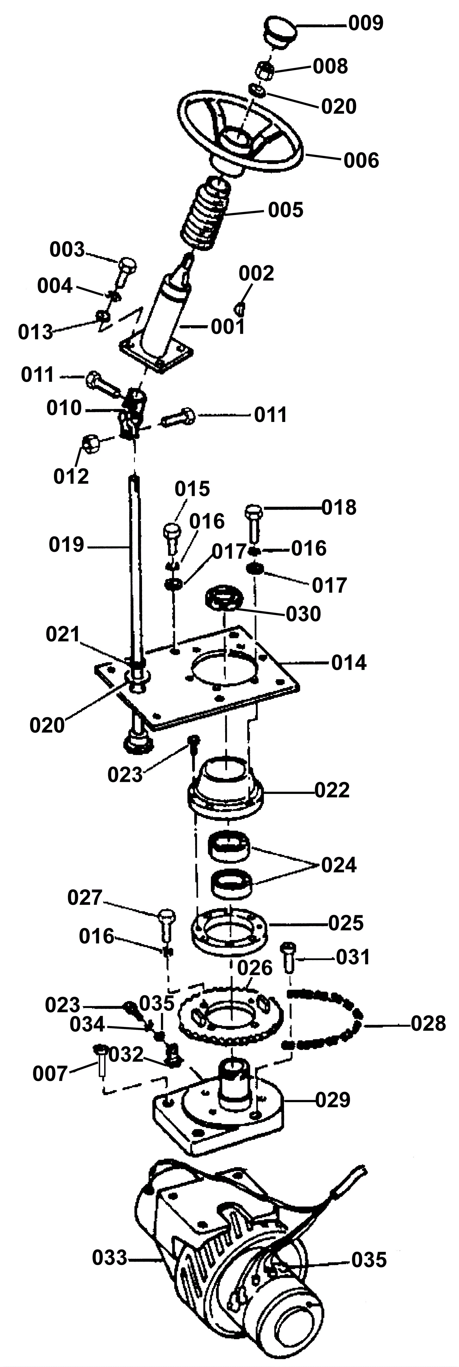
Traction Drive and Steering System
Click to enlarge