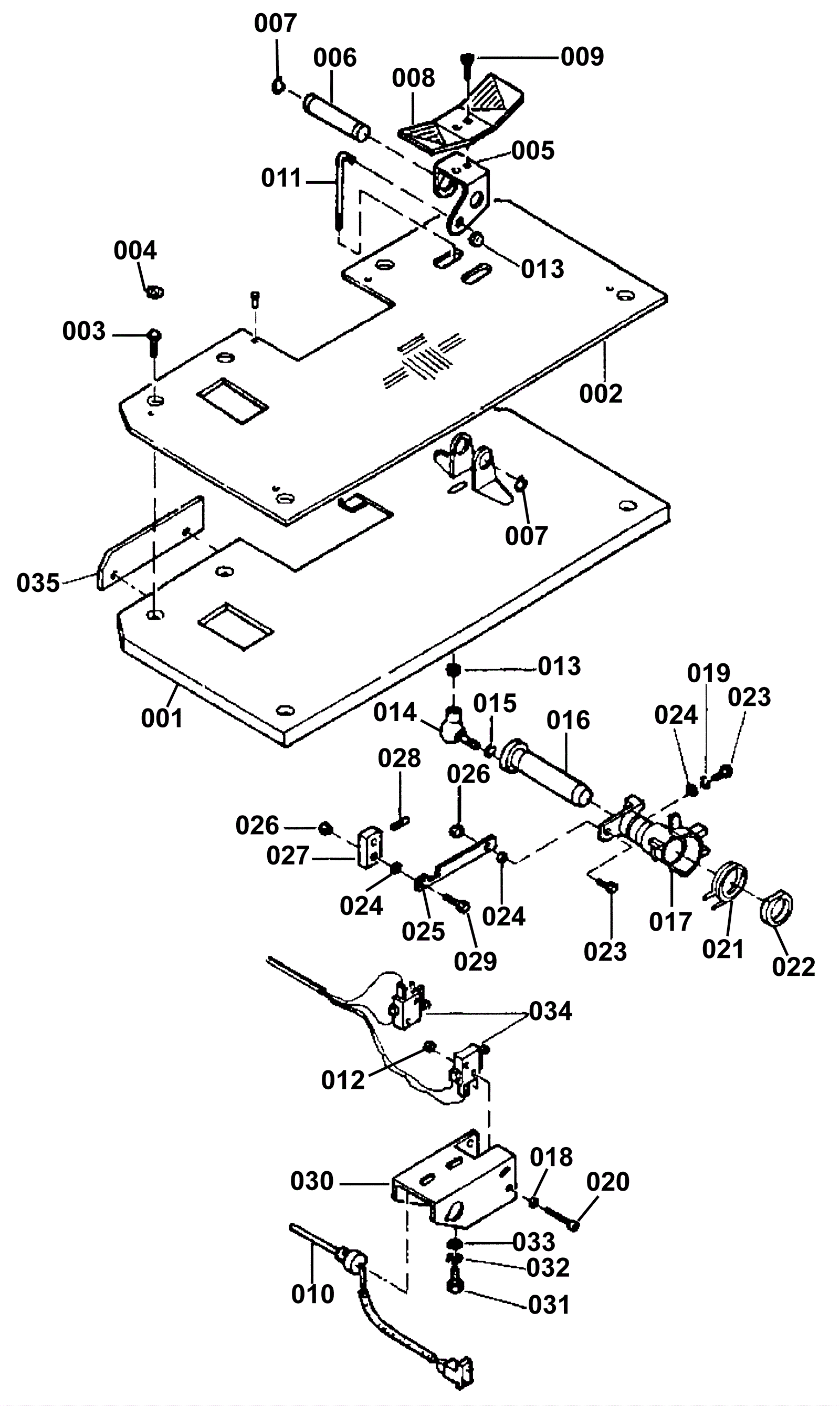
Speed Controller
Click to enlarge