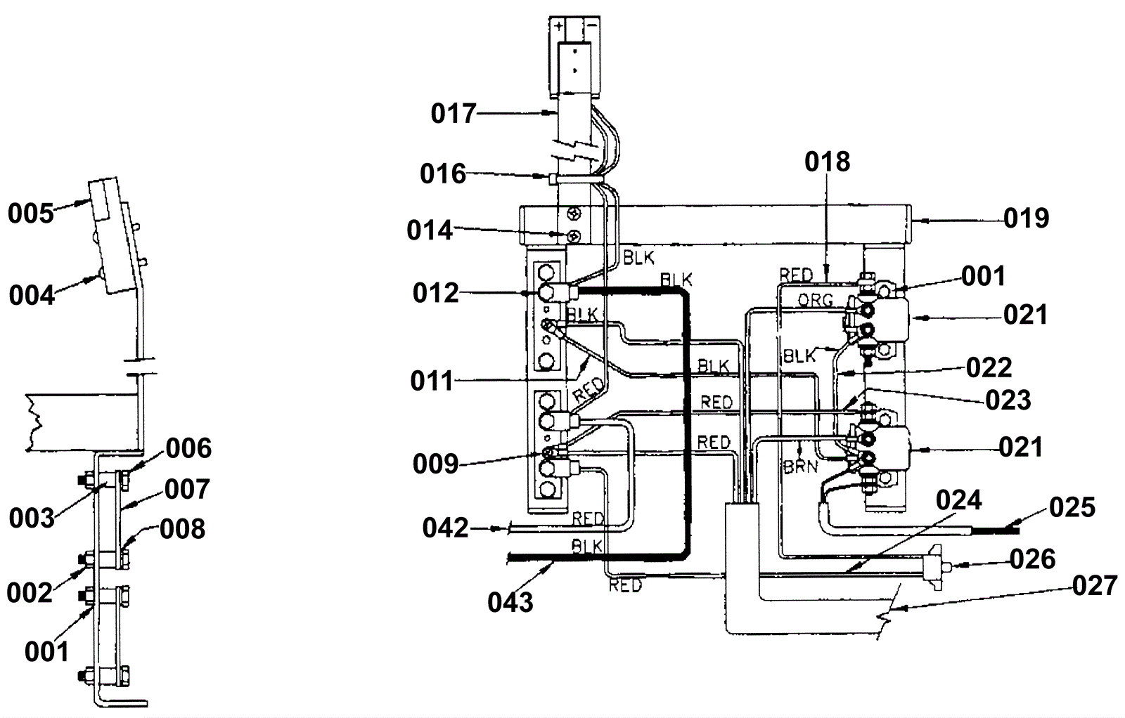
Electrical KA171B
Click to enlarge