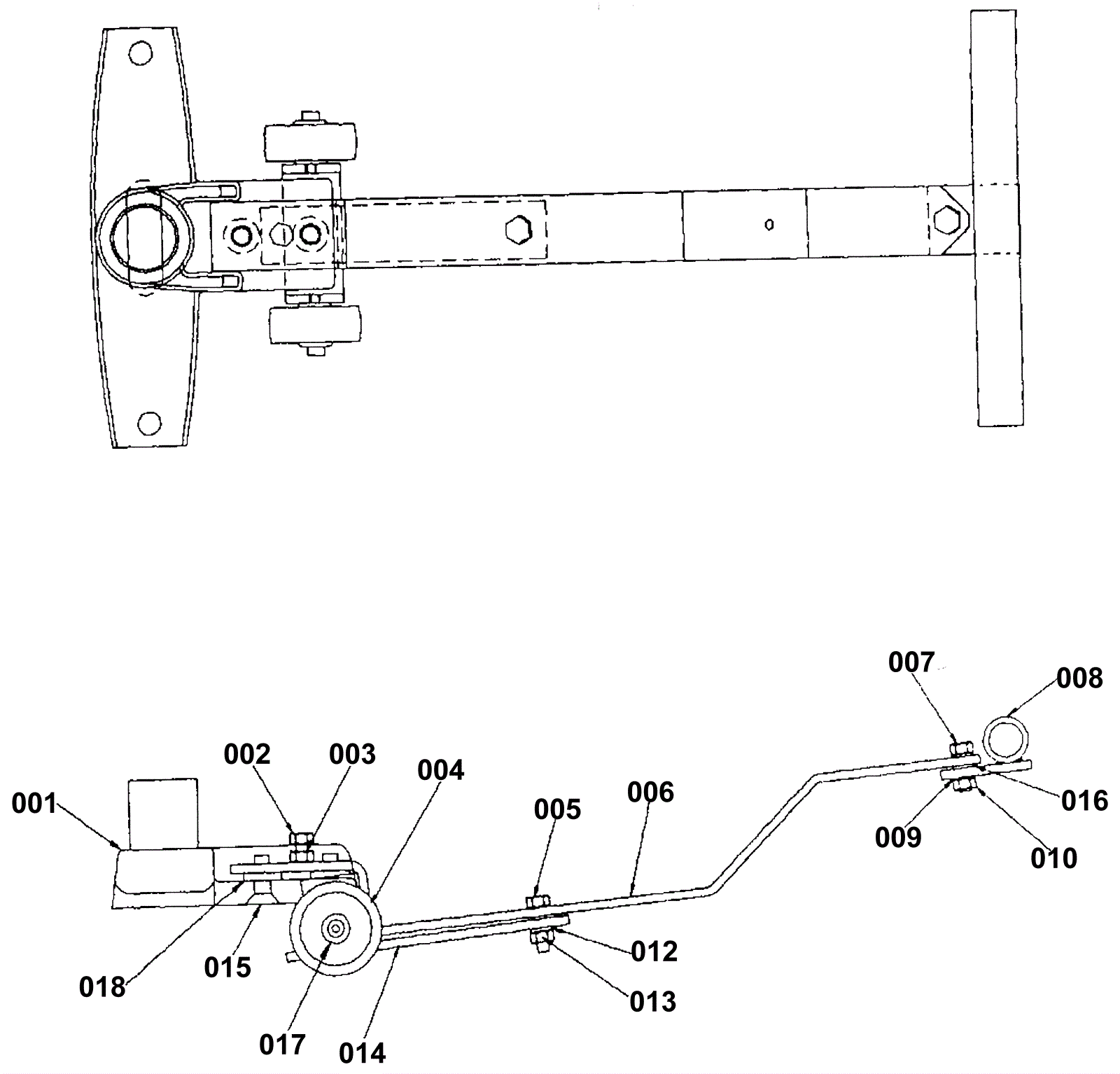
Squeegee Bar and Wheels
Click to enlarge