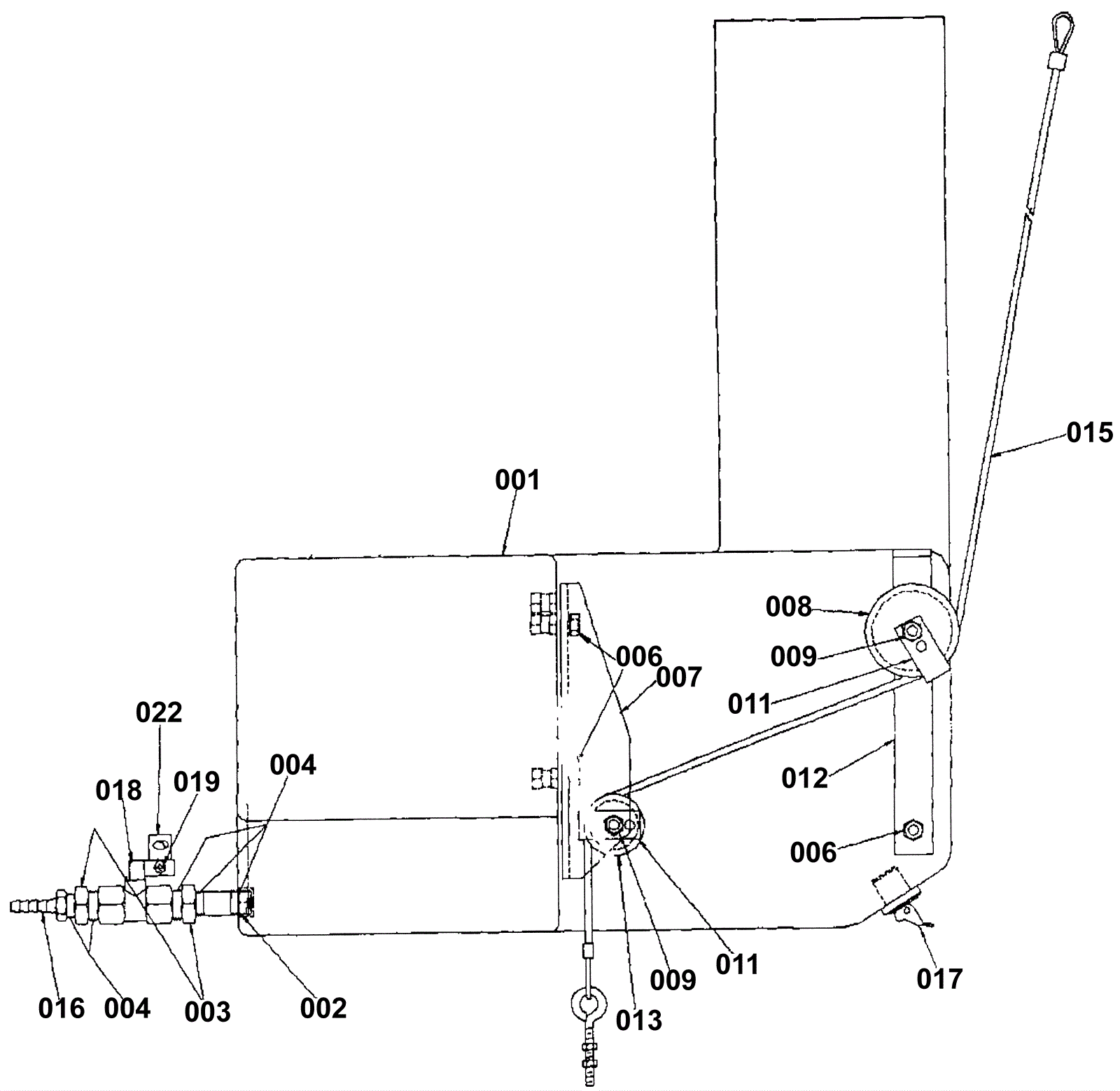
Clean Water Tank KA171B
Click to enlarge