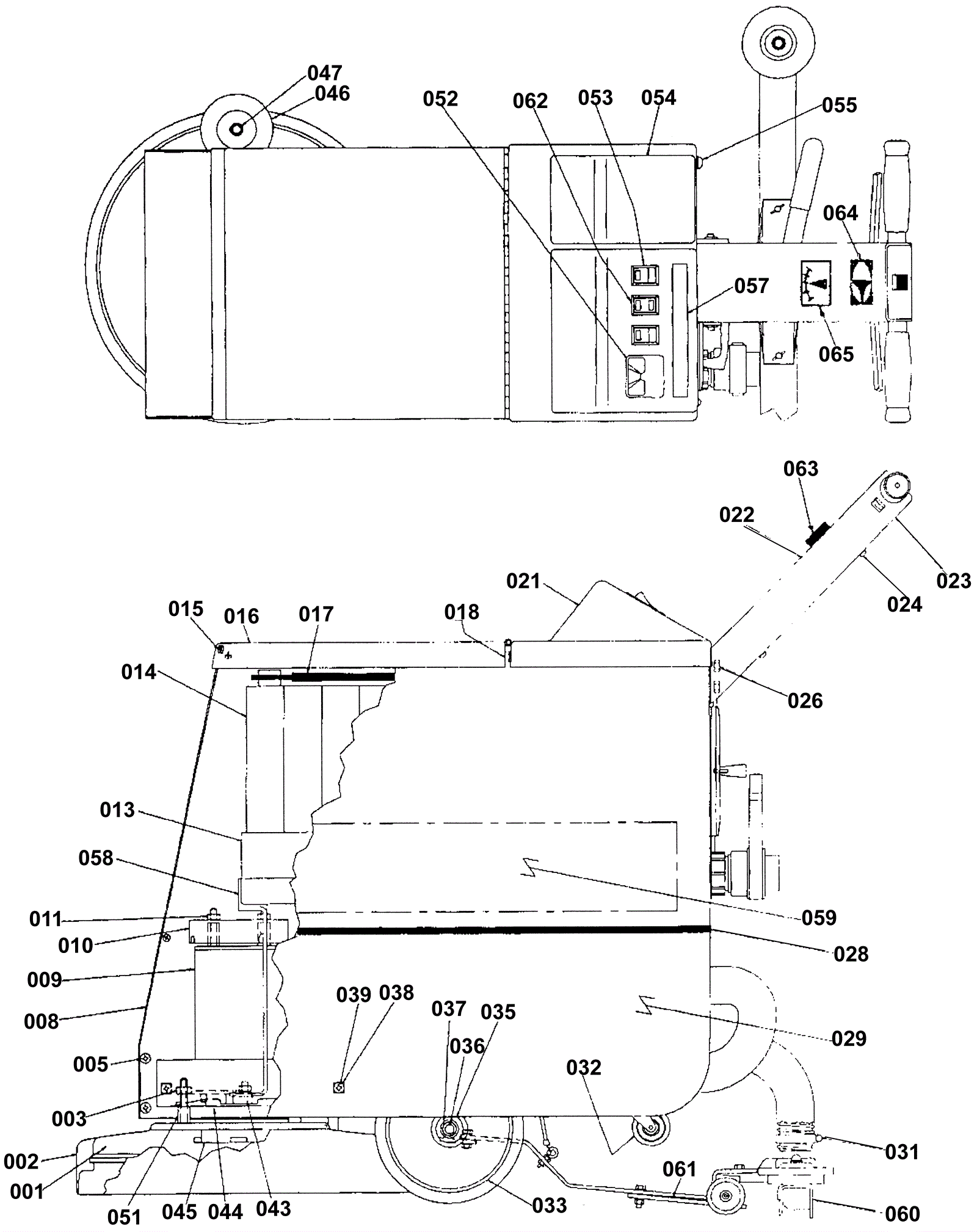
Main View
Click to enlarge