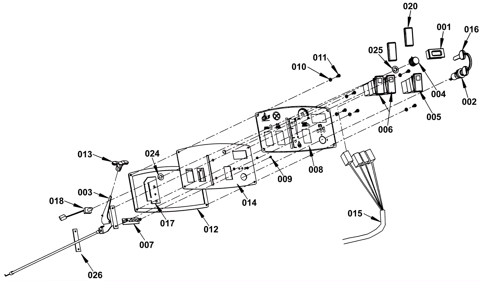
| # | Part | Description | Price | Req | Notes | Availability |
001 |
272-9274
|
24V hour meter |
$192.54
|
1 |
|
usually ships 13-18 days |
002a |
172-3785
|
Key switch with two keys |
$64.90
|
1 |
|
ships same day |
002b |
991-1634
|
Key (pkg of 2) |
$14.21
|
1 |
|
ships same day |
003 |
272-1961
|
Lever with cable (OBSOLETE) |
$69.01
|
1 |
|
usually ships 13-18 days |
004 |
272-0679
|
Knob (for potentiometer) |
$24.09
|
1 |
|
usually ships 13-18 days |
005 |
272-0680
|
Click off switch |
$61.60
|
1 |
|
usually ships 13-18 days |
006 |
272-0681
|
Switch |
$136.39
|
2 |
|
usually ships 13-18 days |
007 |
272-5469
|
LED card |
$65.07
|
1 |
|
usually ships 13-18 days |
008 |
272-0682
|
Control panel decal (OBSOLETE) |
$24.53
|
1 |
|
usually ships 1-5 days |
009 |
272-0683
|
Screw m 3 x 6 |
$15.61
|
2 |
|
usually ships 1-5 days |
010 |
999-9089
|
Washer M4 flat stainless steel |
$0.99
|
6 |
|
ships same day |
011 |
172-4204
|
Screw M4-.7 x 10mm stainless steel |
$9.90
|
6 |
|
usually ships 1-5 days |
012 |
272-0685
|
Control panel gasket (OBSOLETE) |
$8.25
|
1 |
|
usually ships 1-5 days |
013 |
181-0951
|
Handle for lever |
$14.21
|
1 |
|
usually ships 13-18 days |
014 |
272-0686
|
Control panel (OBSOLETE) |
$46.99
|
1 |
|
usually ships 1-5 days |
015 |
272-0687
|
Machine harness (OBSOLETE) |
$433.36
|
1 |
|
usually ships 1-5 days |
016 |
991-1634
|
Key (pkg of 2) |
$14.21
|
1 |
|
ships same day |
017 |
272-0688
|
Protection gasket (OBSOLETE) |
$8.56
|
1 |
|
usually ships 1-5 days |
018 |
272-0689
|
Drive max speed potentiometer |
$86.94
|
1 |
|
usually ships 13-18 days |
020 |
272-0691
|
Cap |
$14.41
|
2 |
|
usually ships 1-5 days |
024 |
181-1741
|
Spacer (OBSOLETE) |
$8.83
|
1 |
|
usually ships 13-18 days |
025 |
181-1742
|
Bushing (OBSOLETE) |
$7.48
|
1 |
|
usually ships 1-5 days |
026 |
272-7160
|
Plate (OBSOLETE) |
$8.90
|
1 |
|
usually ships 1-5 days |
N/S |
172-2039
|
5K potentiometer |
$66.03
|
1 |
|
ships same day |
N/S |
272-0692
|
Ground cable kit |
$261.25
|
1 |
|
usually ships 1-5 days |
N/S |
272-0693
|
Installation instructions for ground cable kit (OBSOLETE) |
$7.37
|
1 |
|
usually ships 1-5 days |
N/S |
N/A
|
Not available |
Call for price
|
1 |
(Traction harness) |
usually ships 3-26 days |