| # | Part | Description | Price | Req | Notes | Availability | 
|---|
          
            
            
                
                  
                  
                  
				       
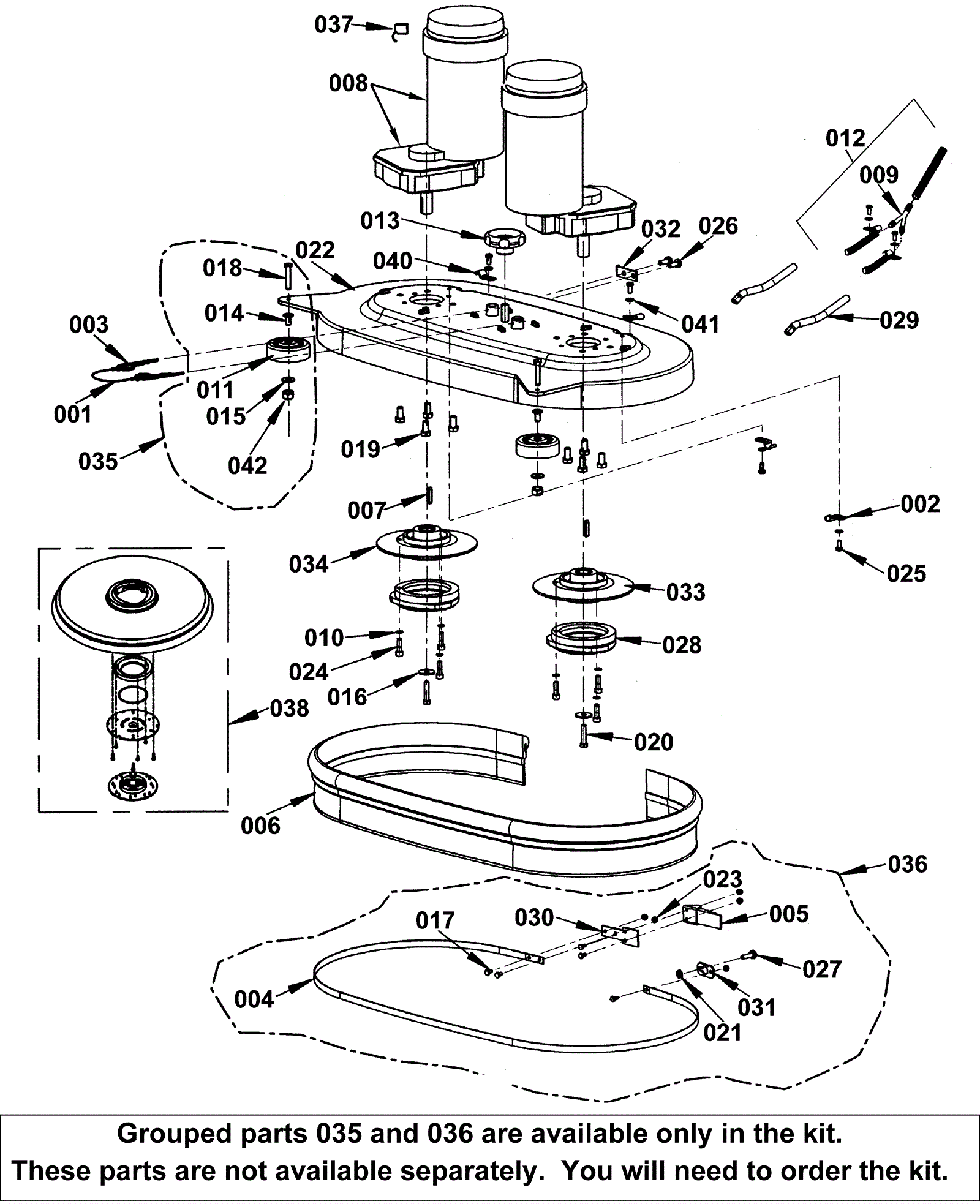
				      001 | 272-0719 | Cable stainless steel (OBSOLETE) | $7.96 | 1 |  | usually ships 1-5 days | 002 | 272-0720 | U bolt (OBSOLETE) | $7.65 | 2 |  | usually ships 1-5 days | 003 | 272-0721 | Cotter pin | $16.95 | 2 |  | ships same day | 004a | 272-0739 | Splash guard fitting kit | $149.02 | 1 | (Splash guard holder) (24 and 26 inch) | usually ships 13-18 days | 004b | 272-0740 | Splash guard fitting kit (OBSOLETE) | $102.74 | 1 | (Splash guard holder) (28 inch) | usually ships 1-5 days | 005a | 272-0739 | Splash guard fitting kit | $149.02 | 1 | (Latch) (24 and 26 inch) | usually ships 13-18 days | 005b | 272-0740 | Splash guard fitting kit (OBSOLETE) | $102.74 | 1 | (Latch) (28 inch) | usually ships 1-5 days | 006a | 272-0722 | 24/26 inch splash guard | $83.92 | 1 |  | usually ships 13-18 days | 006b | 272-0723 | 28 inch splash guard | $74.21 | 1 |  | usually ships 13-18 days | 007 | 172-3730 | Square keyway | $49.63 | 2 |  | ships same day | 008 | 572-3695 | REDUCTION GEARMOTOR 400W 24V K | $1,608.28 | 2 |  | usually ships 13-18 days | 009 | 272-0725 | Elbow (OBSOLETE) | $7.37 | 1 |  | usually ships 1-5 days | 010 | 172-4471 | Washer M6 | $8.80 | 6 |  | usually ships 1-5 days | 011 | 272-0737 | Bumper roller kit | $32.07 | 2 | (Roller bumper) | usually ships 13-18 days | 012 | 272-0726 | Brush deck water hose kit (OBSOLETE) | $33.00 | 1 |  | usually ships 13-18 days | 013 | 272-0727 | Hand wheel m10 | $33.78 | 1 |  | usually ships 1-5 days | 014 | 272-0737 | Bumper roller kit | $32.07 | 2 | (Bushing) | usually ships 13-18 days | 015 | 999-0483 | Washer M7 flat zinc | $0.99 | 4 | (Washer) | ships same day | 016 | 172-3731 | Washer 6 x 24 x 2 | $11.69 | 2 |  | usually ships 1-5 days | 017 | 999-0983 | Screw 4-40 x 1 pan head phillips zinc plated | $0.99 | 5 |  | ships same day | 018 | 999-1265 | Screw M6-1 x 35mm flat head phillips stainless steel | $1.51 | 2 |  | ships same day | 019 | 272-0728 | Screw 8 x 16 hex head stainless steel (OBSOLETE) | $7.92 | 8 |  | usually ships 1-5 days | 020 | 272-0729 | Screw 8 x 30 hex head stainless steel (OBSOLETE) | $8.03 | 2 |  | usually ships 1-5 days | 021 | 999-0469 | Nut M6-1 nylon insert lock zinc plated | $1.32 | 1 |  | ships same day | 022a | 272-0730 | 24 inch Brush deck | $704.46 | 1 | (24 inch) | usually ships 1-5 days | 022b | 272-0731 | 26 inch brush deck | $229.88 | 1 | (26 inch) | usually ships 1-5 days | 022c | 272-0732 | 28 inch Brush deck | $136.40 | 1 | (28 inch) | usually ships 1-5 days | 023 | 999-0295 | Nut 4-40 nylon insert lock stainless steel | $0.99 | 5 |  | ships same day | 024 | 272-0733 | Screw M6-1 x 20mm socket head stainless steel | $8.03 | 6 |  | usually ships 1-5 days | 025 | 999-9102 | Screw M5-.8 x 12mm oval head stainless steel | $0.99 | 6 |  | ships same day | 026 | 272-0735 | Screw m6 x 16 oval head stainless steel | $8.80 | 2 |  | usually ships 1-5 days | 027 | 999-1257 | Screw M6-1 x 16mm pan head Phillips | $1.47 | 1 |  | ships same day | 028 | 172-0469 | Brush hub | $38.62 | 2 |  | usually ships 13-18 days | 029 | 272-0736 | Copper hose | $36.07 | 2 |  | usually ships 1-5 days | 030a | 272-0739 | Splash guard fitting kit | $149.02 | 1 | (Straight plate) (24 and 26 inch) | usually ships 13-18 days | 030b | 272-0740 | Splash guard fitting kit (OBSOLETE) | $102.74 | 1 | (Straight plate) (28 inch) | usually ships 1-5 days | 031a | 272-0739 | Splash guard fitting kit | $149.02 | 1 | (Straight plate with hole) (24 and 26 inch) | usually ships 13-18 days | 031b | 272-0740 | Splash guard fitting kit (OBSOLETE) | $102.74 | 1 | (Straight plate with hole) (28 inch) | usually ships 1-5 days | 032 | 172-4488 | Bent plate (OBSOLETE) | $18.37 | 1 |  | usually ships 1-5 days | 033 | 572-9298 | Polygonal flange | $82.28 | 1 |  | usually ships 13-18 days | 034 | 172-4217 | Hub, left | $63.80 | 1 |  | usually ships 1-5 days | 035a | 272-0737 | Bumper roller kit | $32.07 | 2 |  | usually ships 13-18 days | 035b | 272-0738 | Bumper roller kit (for special use) (OBSOLETE) | $387.27 | 1 | (Big wheel to avoid pallets) | usually ships 1-5 days | 036a | 272-0739 | Splash guard fitting kit | $149.02 | 1 | (24 and 26 inch) (Includes items 004, 005, 017, 021, 023, 027, 030 and 031) | usually ships 13-18 days | 036b | 272-0740 | Splash guard fitting kit (OBSOLETE) | $102.74 | 1 | (28 inch) (Includes items 004, 005, 017, 021, 023, 027, 030 and 031) | usually ships 1-5 days | 037 | 272-0741 | Carbon brush (pkg of 4) | $482.66 | 1 |  | usually ships 13-18 days | 038a | 996-0892 | 12 inch pad driver assembly | $229.88 | 2 | (24 inch) | usually ships 13-18 days | 038b | 272-0718 | 13 inch pad driver assembly | $321.78 | 2 | (26 inch) | usually ships 13-18 days | 038c | 996-1268 | 28 inch pad driver assembly | $239.03 | 2 | (28 inch) | usually ships 1-5 days | 040 | 272-0742 | Clamp | $9.26 | 4 |  | usually ships 1-5 days | 041 | 999-1261 | Washer M6 flat stainless steel | $0.99 | 6 |  | ships same day | 042 | 999-0469 | Nut M6-1 nylon insert lock zinc plated | $1.32 | 2 |  | ships same day | N/S | 272-0715 | 24 inch Brush deck kit (OBSOLETE) | $3,009.80 | 1 |  | usually ships 1-5 days | N/S | 272-0716 | 26 inch brush deck kit (OBSOLETE) | $3,544.61 | 1 |  | usually ships 1-5 days | N/S | 272-0717 | 28 inch brush deck kit (OBSOLETE) | $3,551.24 | 1 |  | usually ships 1-5 days |