| # | Part | Description | Price | Req | Notes | Availability |
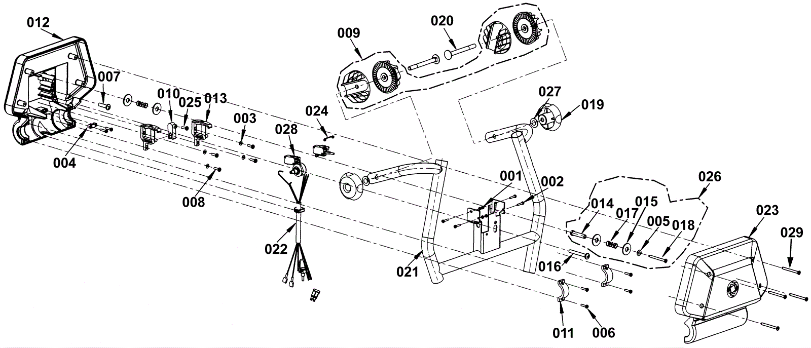
001 |
999-0768
|
Nut M3-.5 hex coarse thread plain finish |
$1.54
|
4 |
|
ships same day |
002 |
272-7158
|
Screw M3-.5 x 16mm cylindrical head (OBSOLETE) |
$6.53
|
4 |
|
usually ships 1-5 days |
003 |
999-9089
|
Washer M4 flat stainless steel |
$0.99
|
4 |
|
ships same day |
004 |
272-2693
|
Clamp (OBSOLETE) |
$10.52
|
1 |
|
usually ships 13-18 days |
005 |
272-0713
|
Pot spring kit |
$55.66
|
1 |
(Washer) |
usually ships 13-18 days |
006 |
999-0738
|
Screw M3-.5 x 16mm pan head phillips zinc |
$0.99
|
6 |
|
ships same day |
007 |
999-0518
|
Bolt M6-1 x 25mm hex head full thread zinc |
$0.99
|
1 |
|
ships same day |
008 |
272-1957
|
Screw M4-.7 x 14mm |
$9.35
|
4 |
|
usually ships 1-5 days |
009 |
181-0896
|
Handle adjuster kit |
$93.17
|
1 |
|
usually ships 13-18 days |
010 |
272-7157
|
Paddle fork |
$11.75
|
1 |
|
usually ships 13-18 days |
011 |
272-1958
|
Clamp |
$12.71
|
2 |
|
usually ships 13-18 days |
012 |
172-4493
|
Rear switch housing |
$38.21
|
1 |
|
usually ships 13-18 days |
013 |
272-6318
|
Micro switch cam |
$15.95
|
2 |
|
usually ships 13-18 days |
014 |
272-0713
|
Pot spring kit |
$55.66
|
1 |
(Drive control bushing) |
usually ships 13-18 days |
015 |
272-0713
|
Pot spring kit |
$55.66
|
4 |
(Washer) |
usually ships 13-18 days |
016 |
999-1991
|
Screw M6-1.0 x 50mm pan head phillips zinc |
$1.03
|
1 |
|
usually ships 16-20 days |
017 |
272-0713
|
Pot spring kit |
$55.66
|
2 |
(Drive control spring) |
usually ships 13-18 days |
018 |
272-0713
|
Pot spring kit |
$55.66
|
5 |
(Screw) |
usually ships 13-18 days |
019 |
272-0709
|
Handwheel |
$12.89
|
2 |
|
usually ships 13-18 days |
020 |
272-0710
|
Screw m8 x 85 (OBSOLETE) |
$8.03
|
2 |
|
usually ships 1-5 days |
021 |
272-0711
|
Handle bar (OBSOLETE) |
$233.20
|
1 |
|
usually ships 1-5 days |
022 |
N/A
|
Not available |
Call for price
|
1 |
(Traction harness) |
usually ships 3-26 days |
023 |
272-0712
|
Front housing switch (OBSOLETE) |
$37.43
|
1 |
|
usually ships 13-18 days |
024 |
472-1280
|
CONTACT F MICROSWITCH PKD |
$103.32
|
2 |
|
usually ships 13-18 days |
025 |
172-2395
|
Screw M4-.7 x 10 cylinder head |
$12.71
|
1 |
|
usually ships 1-5 days |
026 |
272-0713
|
Pot spring kit |
$55.66
|
1 |
(Includes items 005, 014, 015, 017, and 018) |
usually ships 13-18 days |
027 |
999-1267
|
Washer M8 flat zinc |
$0.99
|
2 |
|
ships same day |
028 |
272-0714
|
Microswitch |
$27.26
|
2 |
|
usually ships 13-18 days |
029 |
999-1266
|
Screw 8-18 x 2 flat head phillips zinc plated |
$0.99
|
4 |
|
usually ships 1-5 days |