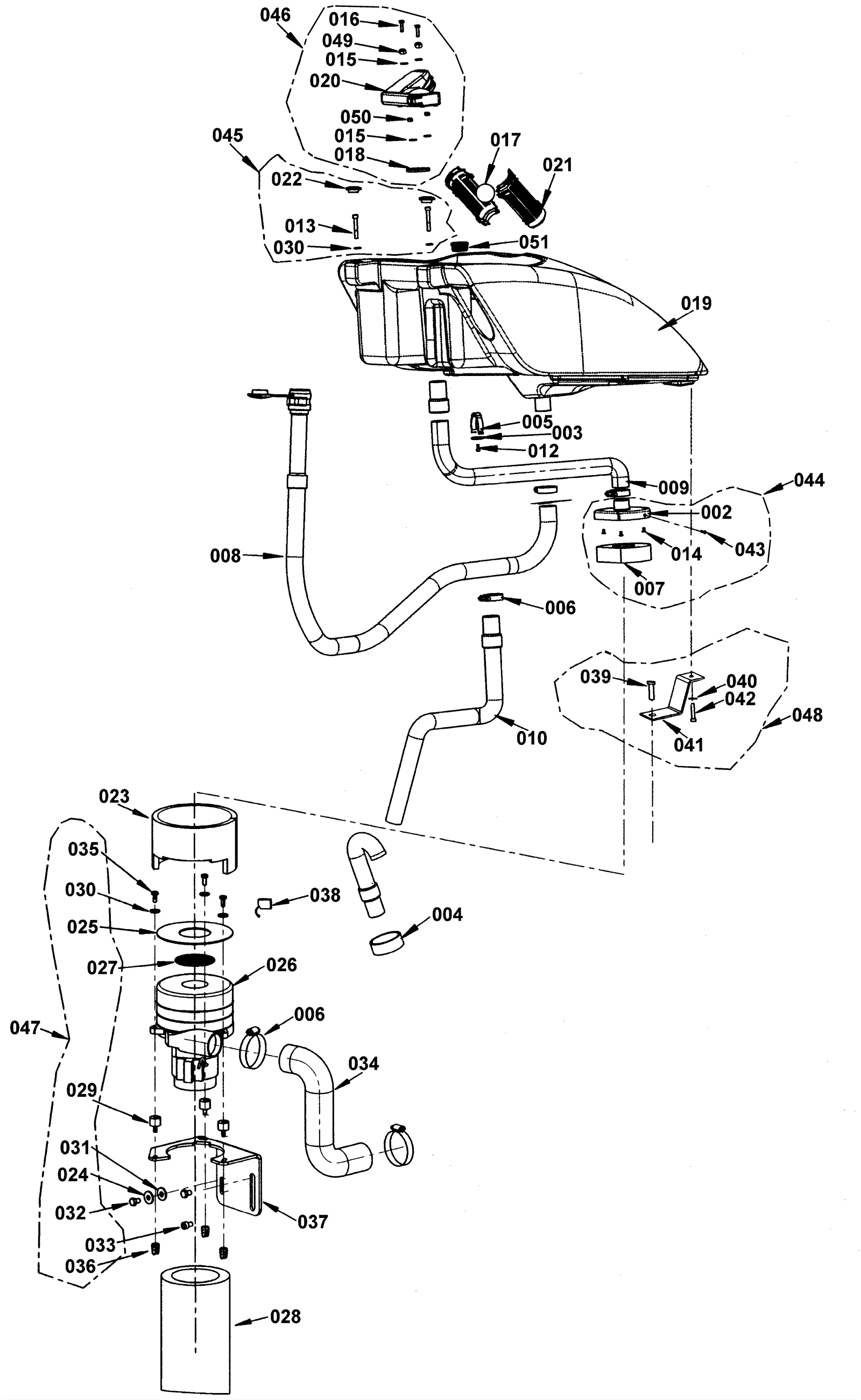
Razorplus 28C Recovery Tank Assembly

#PartDescriptionPriceReqNotesAvailability
002 272-0628 Vacuum motor cover kit (OBSOLETE) $137.42 1 (Vac motor cover) usually ships 13-18 days
003 172-4470 O-ring (OBSOLETE) $10.52 1 usually ships 13-18 days
004 272-0615 Gasket (OBSOLETE) $9.68 1 usually ships 1-5 days
005 172-8903 Hose clamp $10.52 1 usually ships 13-18 days
006 997-2000 Hose clamp $2.37 5 ships same day
007 272-0628 Vacuum motor cover kit (OBSOLETE) $137.42 1 (Vac motor gasket) usually ships 13-18 days
008 272-0616 Drain hose $215.00 1 usually ships 13-18 days
009 272-0617 Vacuum motor hose (OBSOLETE) $37.62 1 usually ships 13-18 days
010a 272-0618 Squeegee vacuum hose kit $65.09 1 ships same day
010b 991-3105 Squeegee vacuum hose assembly $51.19 1 ships same day
012 272-0619 Screw m5 x 12 socket head (OBSOLETE) $6.29 1 usually ships 1-5 days
013 999-0468 Bolt M6-1 x 55mm hex head part thread zinc $0.99 2 ships same day
014 999-0777 Screw M4-.7 x 10mm hex head plain finish $0.99 3 ships same day
015 999-1261 Washer M6 flat stainless steel $0.99 2 ships same day
016 999-0780 Screw M6-1 x 40mm hex head $0.99 2 ships same day
017 172-0192 Float ball $10.52 1 usually ships 18-27 days
018 272-0630 Float cage fitting kit (OBSOLETE) $80.08 1 (Gasket) usually ships 1-5 days
019a 272-0620 Recovery tank kit (OBSOLETE) $505.22 1 usually ships 1-5 days
019b N/A Not available Call for price 1 (Recovery tank) usually ships 3-26 days
020 272-0630 Float cage fitting kit (OBSOLETE) $80.08 1 (Float cage holder) usually ships 1-5 days
021 172-0517 Float cage half (2 required for full float cage) $18.38 2 ships same day
022 272-0629 Float cage hardware kit (OBSOLETE) $37.51 2 (Cap) usually ships 1-5 days
023 272-0622 Acoustic insulation (OBSOLETE) $23.65 1 usually ships 1-5 days
024 999-0674 Washer M8 split lock plain finish $0.99 1 ships same day
025 272-0631 Vacuum motor fitting kit $121.68 1 (Gasket) usually ships 13-18 days
026 272-0623 Vacuum motor kit $611.48 1 usually ships 13-18 days
027 272-0631 Vacuum motor fitting kit $121.68 1 (Protection) usually ships 13-18 days
028 272-0624 Acoustic insulation (OBSOLETE) $23.65 1 usually ships 1-5 days
029 272-0631 Vacuum motor fitting kit $121.68 3 (Vibration damping) usually ships 13-18 days
030 999-1261 Washer M6 flat stainless steel $0.99 5 ships same day
031 999-1267 Washer M8 flat zinc $0.99 1 ships same day
032 999-0783 Screw M8-1.25 x 16mm hex head $0.99 1 ships same day
033 999-1154 Bolt M8-1.25 x 12mm hex head cap brass $10.11 2 usually ships 1-5 days
034 272-0625 Hose with flexible elbows (OBSOLETE) $51.26 1 usually ships 13-18 days
035 999-0807 Screw M6-1 x 10mm flat head phillips $2.49 3 ships same day
036 999-0938 Nut M6 wing stainless steel $6.60 3 ships same day
037 272-0626 Support (OBSOLETE) $60.46 1 usually ships 1-5 days
038 272-0627 Carbon brush $19.98 2 ships same day
039 999-0807 Screw M6-1 x 10mm flat head phillips $2.49 1 ships same day
040 999-1261 Washer M6 flat stainless steel $0.99 1 ships same day
041 N/A Not available Call for price 1 (Bracket - See item 048) usually ships 3-26 days
042 999-1268 Screw M6-1 x 12mm socket head stainless steel $0.99 1 ships same day
044 272-0628 Vacuum motor cover kit (OBSOLETE) $137.42 1 (Includes items 002, 007, 014, 043) usually ships 13-18 days
045 272-0629 Float cage hardware kit (OBSOLETE) $37.51 1 (Includes items 013, 022 and 030) usually ships 1-5 days
046 272-0630 Float cage fitting kit (OBSOLETE) $80.08 1 (Includes items 015, 016, 018, 020, 049 and 050) usually ships 1-5 days
047 272-0631 Vacuum motor fitting kit $121.68 1 (Includes items 024, 025, 027, 029, 030, 031, 032, 033, 035, and 036) usually ships 13-18 days
048a 272-0632 Tank fitting kit (OBSOLETE) $16.54 1 (Before SN 1800576 - Includes items 039, 040, 041, and 042) usually ships 1-5 days
048b 272-0633 Tank fitting kit (OBSOLETE) $15.06 1 (After SN 1800577 - Includes items 039, 040, 041, and 042) usually ships 1-5 days
049 999-0439 Nut M6-1 hex coarse thread $0.99 2 ships same day
050 999-0673 Nut M6-1 acorn zinc plated $0.99 2 ships same day
051 172-4719 Plug $53.31 1 usually ships 13-18 days