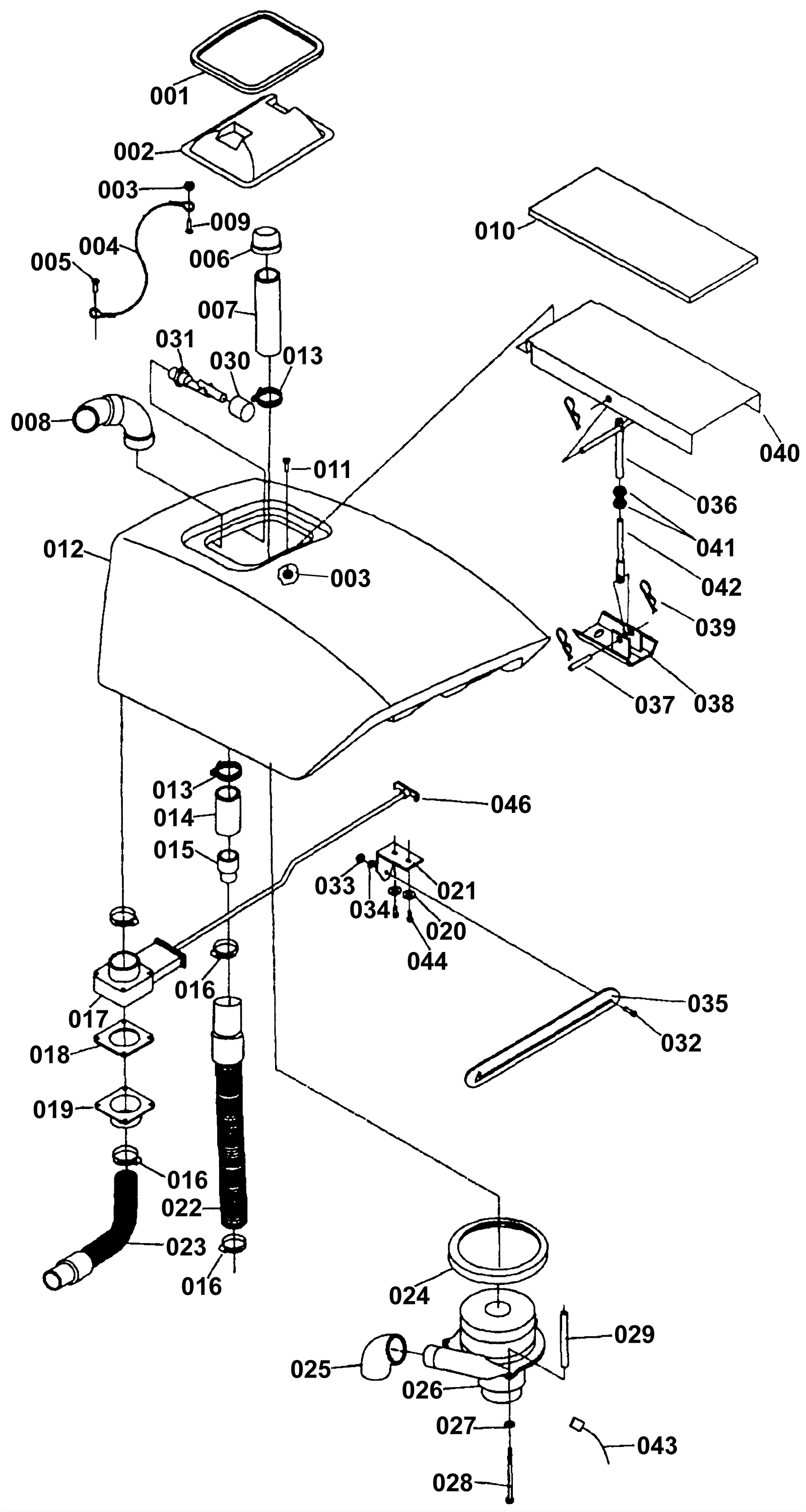
| # | Part | Description | Price | Req | Notes | Availability |
016 |
997-2008
|
Hose clamp |
$2.31
|
|
|
ships same day |
017 |
N/A
|
Not available |
Call for price
|
|
(Slide valve) |
usually ships 3-26 days |
018 |
181-0236
|
Foam gasket (OBSOLETE) |
$17.60
|
|
|
usually ships 13-18 days |
019 |
181-0235
|
Drain weldment (OBSOLETE) |
$56.10
|
|
|
usually ships 13-18 days |