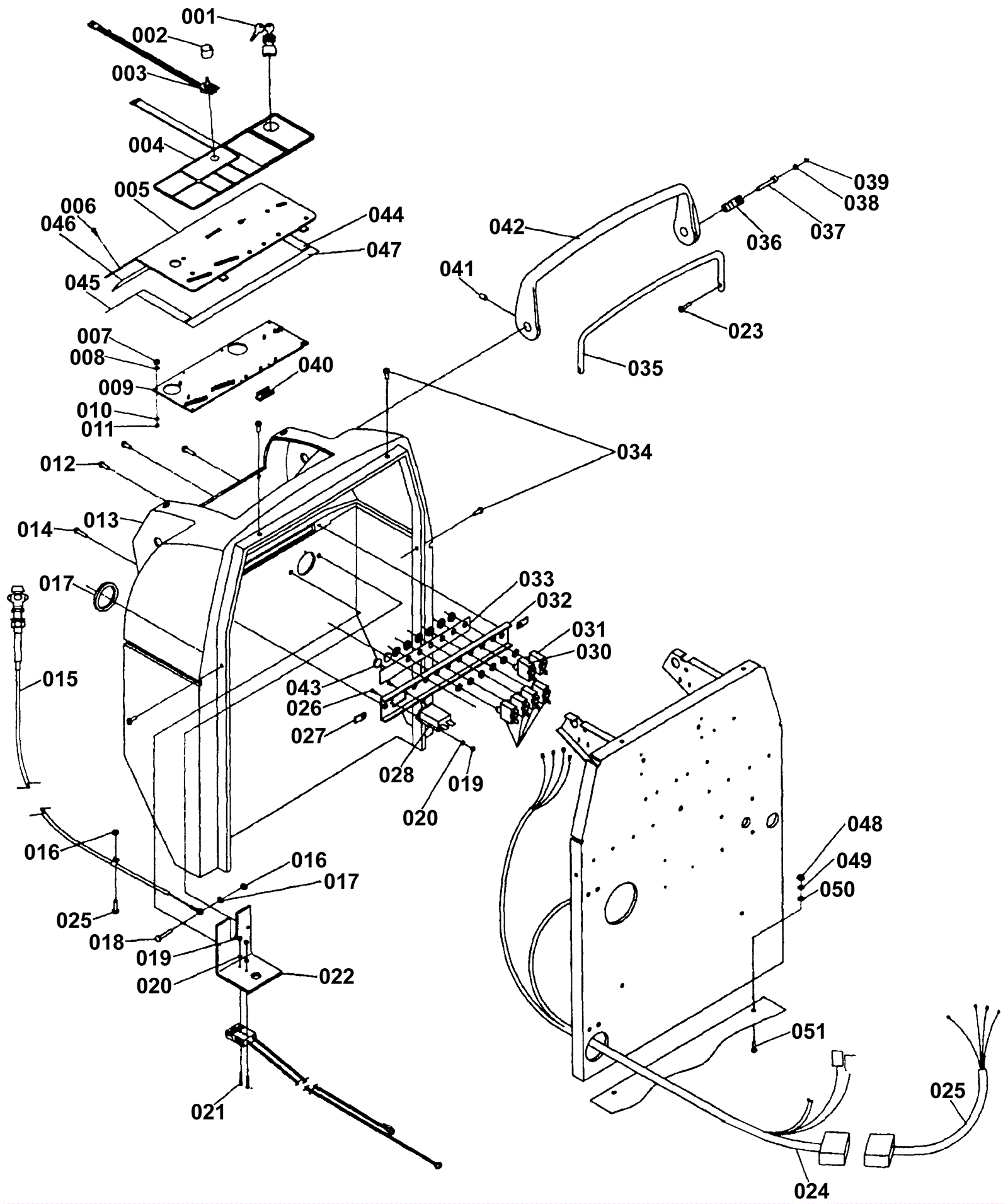
Rear Cover Assembly
Click to enlarge