| # | Part | Description | Price | Req | Notes | Availability | 
|---|
          
            
            
                
                  
                  
                  
				       
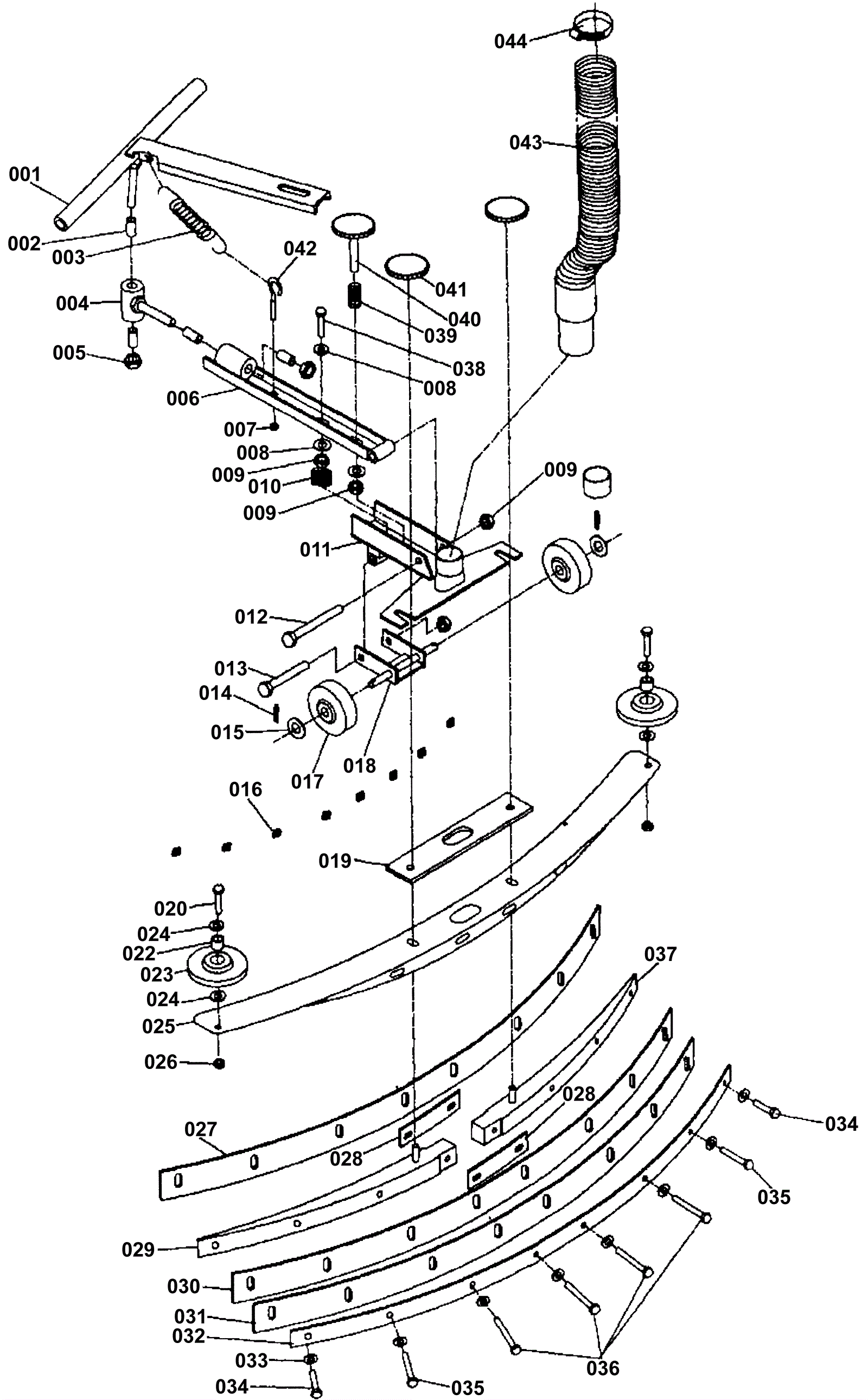
				      027 | 172-8075 | Squeegee blade front (OBSOLETE) | $34.23 | 1 |  | usually ships 13-18 days | 030 | 172-8076 | Squeegee blade rear rubber (OBSOLETE) | $43.45 | 1 |  | usually ships 13-18 days | 031 | 172-8385 | Squeegee blade back up (OBSOLETE) | $30.40 | 1 |  | usually ships 13-18 days |