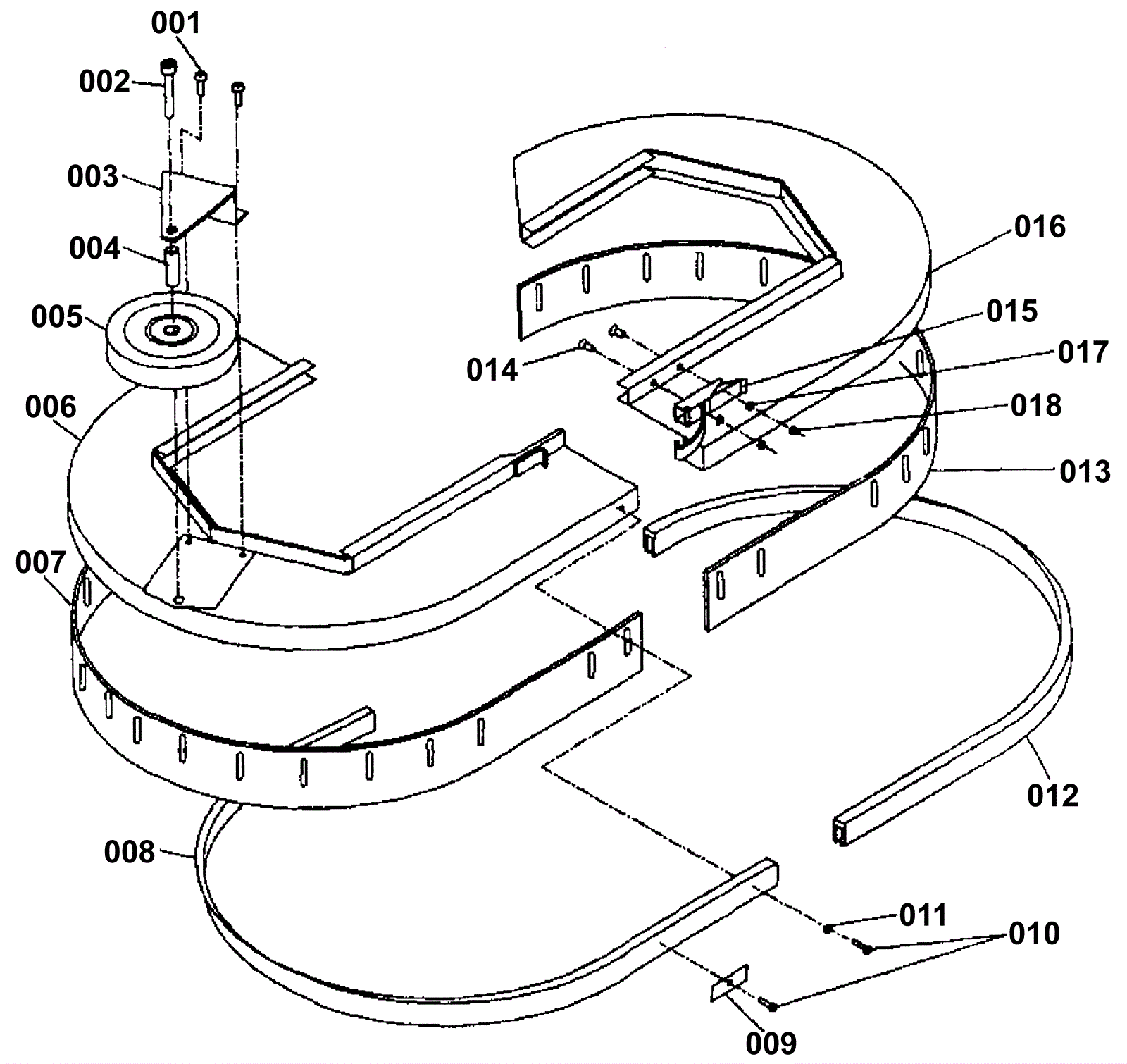
Brush Cover Assembly
Click to enlarge