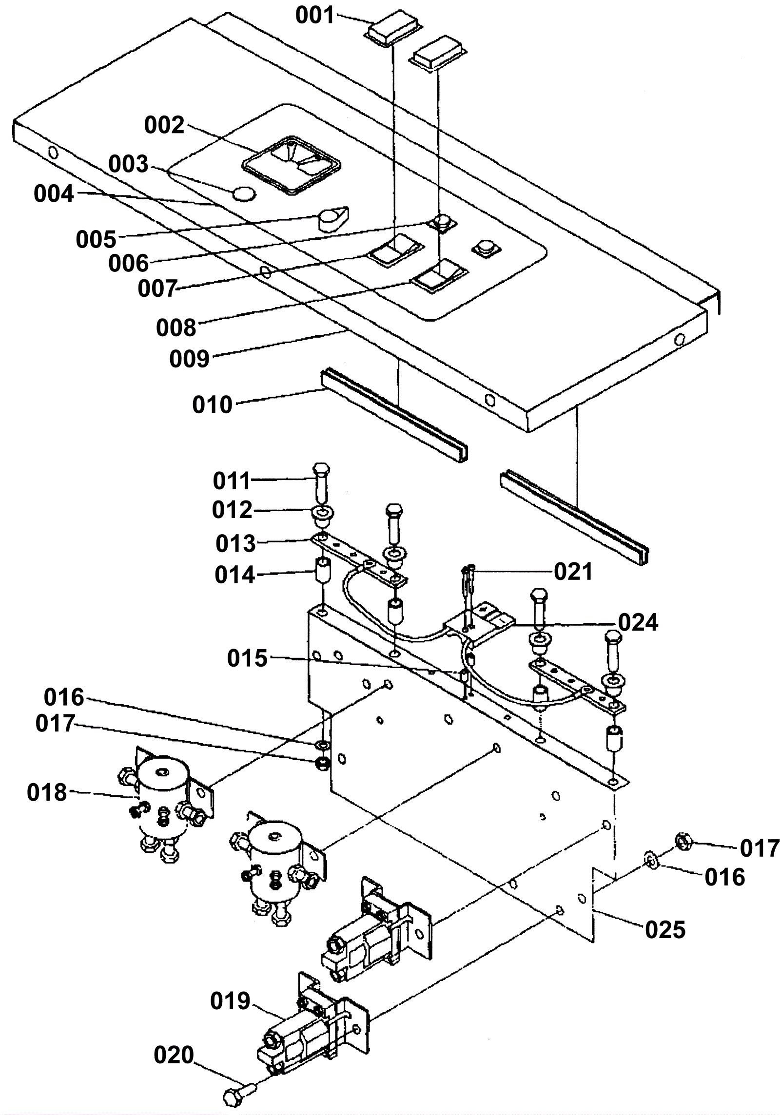
Instrument and Junction Panel Assembly 2
Click to enlarge