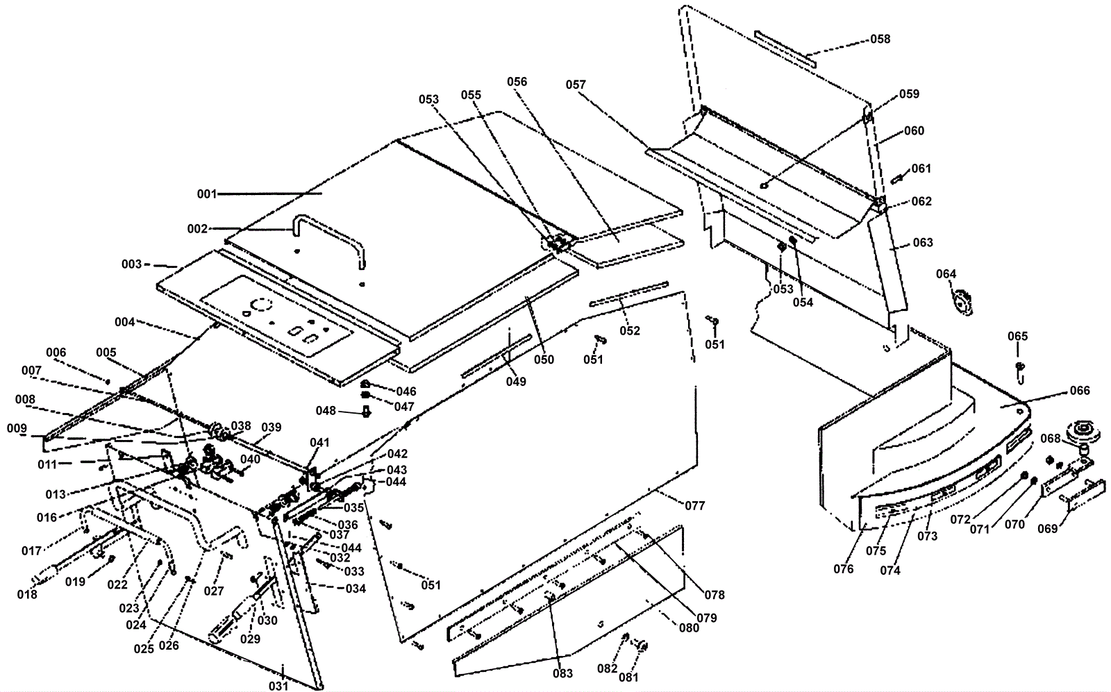
Outer Cover Assembly 2
Click to enlarge