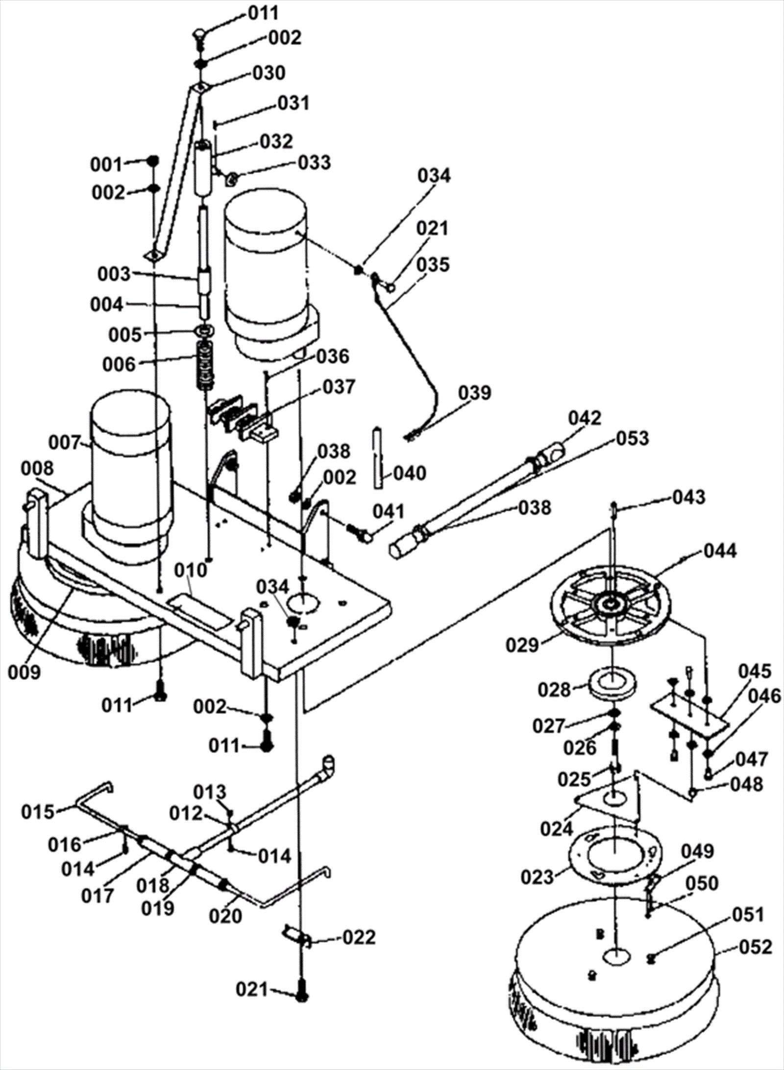
Brush Head Assembly 2
Click to enlarge