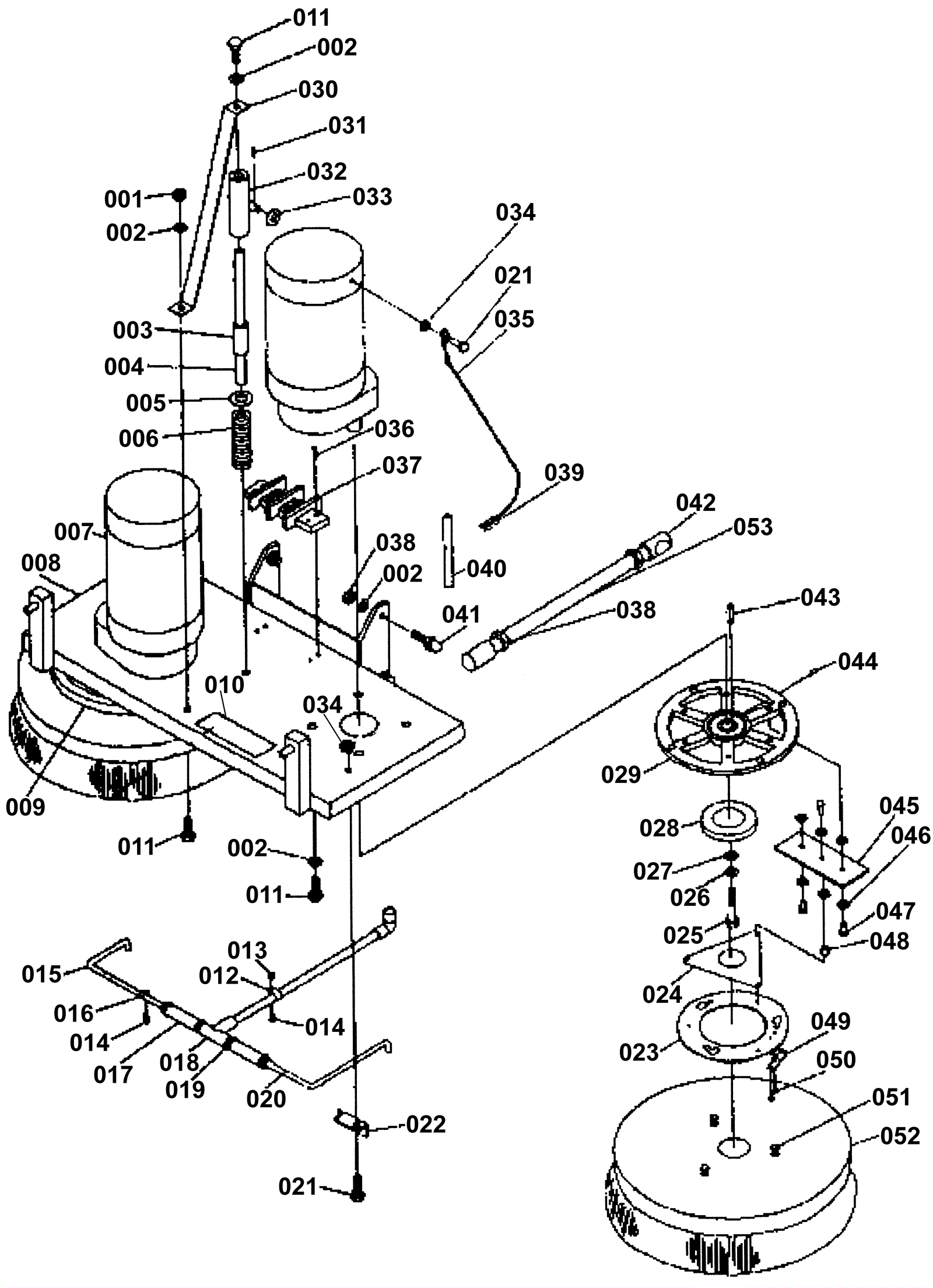
Brush Head Assembly 1
Click to enlarge