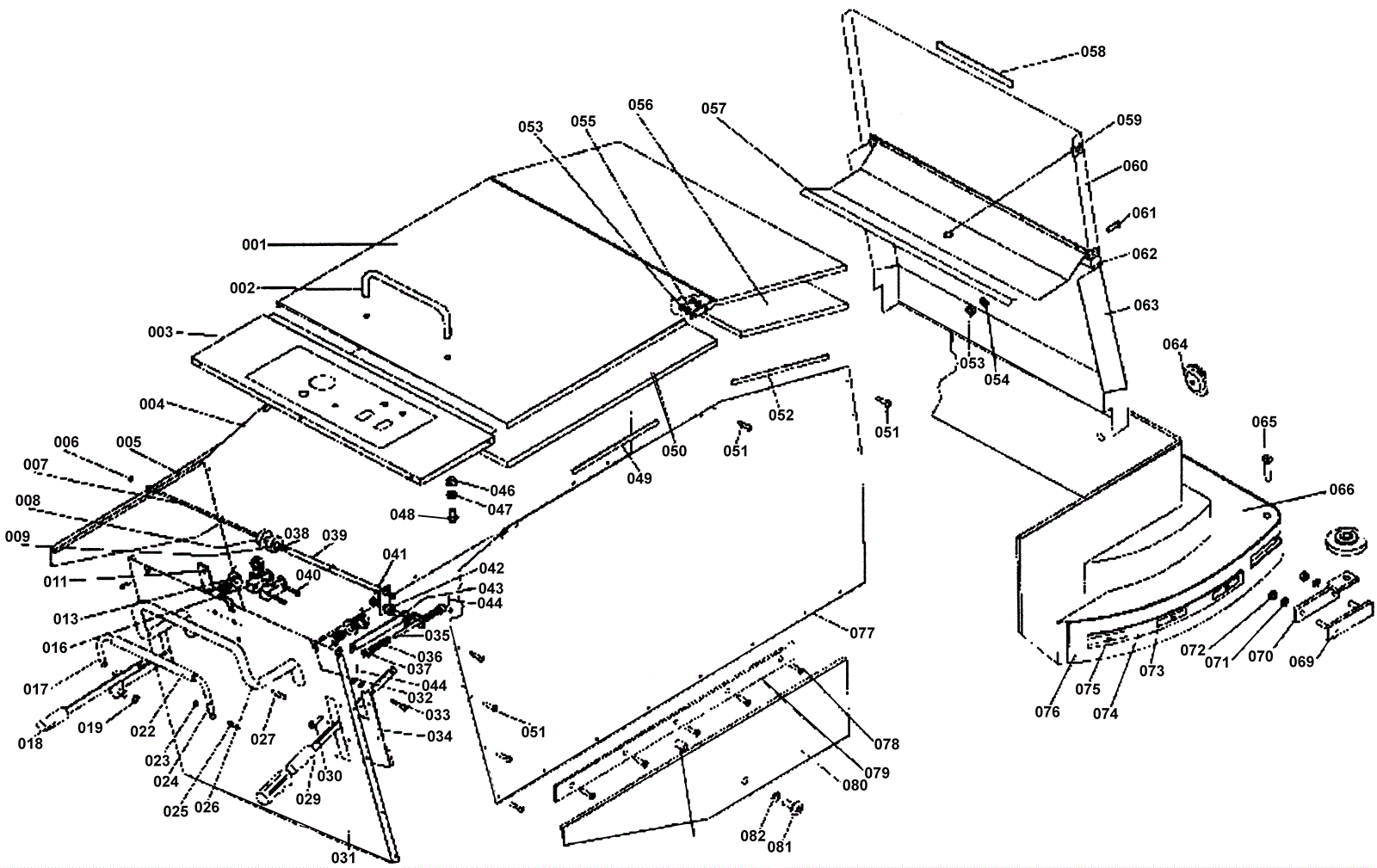
Outer Cover Assembly 1
Click to enlarge