| # | Part | Description | Price | Req | Notes | Availability |
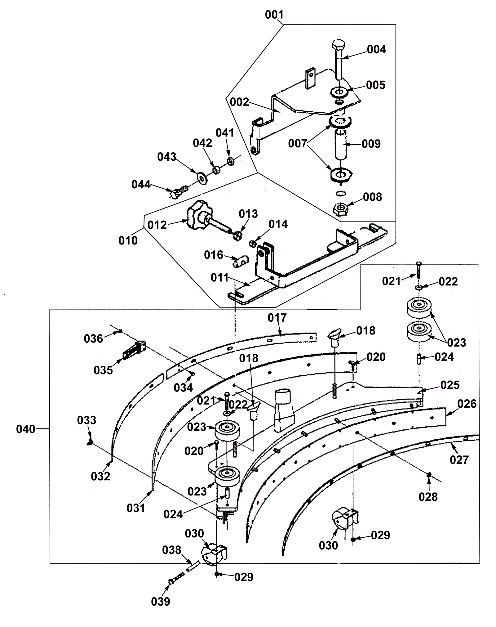
001 |
272-1995
|
Linkage arm assembly (OBSOLETE) |
$268.55
|
1 |
|
usually ships 13-18 days |
002 |
272-1996
|
Squeegee support plate (OBSOLETE) |
$148.50
|
1 |
|
usually ships 13-18 days |
004 |
999-1263
|
Bolt M10-1.5 x 70mm hex head |
$1.98
|
1 |
|
ships same day |
005 |
999-1262
|
Washer M10 flat |
$1.47
|
1 |
|
ships same day |
007 |
272-2000
|
Washer M15 x 25mm plain nylon |
$11.19
|
2 |
|
usually ships 13-18 days |
008 |
999-0767
|
Nut M10-1.5 hex coarse thread |
$0.99
|
1 |
|
ships same day |
009 |
272-2002
|
Spacer (OBSOLETE) |
$9.90
|
1 |
|
usually ships 13-18 days |
010 |
272-2003
|
Squeegee mounting weldment assembly (OBSOLETE) |
$132.00
|
1 |
|
usually ships 13-18 days |
011 |
272-2004
|
Squeegee mounting bracket |
$115.50
|
1 |
|
usually ships 1-5 days |
012a |
272-2005
|
Knob (OBSOLETE) |
$13.76
|
1 |
|
usually ships 13-18 days |
012b |
272-2008
|
Adjustment screw kit |
$82.69
|
1 |
(includes 012, 013, 014 and 016) |
usually ships 13-18 days |
013 |
272-4756
|
Nut |
$12.89
|
2 |
|
usually ships 1-5 days |
014 |
272-2007
|
Spacer |
$16.93
|
1 |
|
ships same day |
016 |
272-2009
|
Pin |
$20.50
|
1 |
|
usually ships 13-18 days |
017 |
272-6638
|
Left rear strap (OBSOLETE) |
$34.79
|
1 |
|
usually ships 13-18 days |
018 |
172-4099
|
Nut 5/16-18 thumb |
$13.32
|
2 |
|
ships same day |
020 |
172-4207
|
Screw M5 x 20mm hex head stainless steel (OBSOLETE) |
$7.59
|
4 |
|
usually ships 1-5 days |
021 |
999-1579
|
Screw M6 x 80mm hex head stainless steel |
$1.69
|
2 |
|
ships same day |
022 |
999-1261
|
Washer M6 flat stainless steel |
$0.99
|
2 |
|
ships same day |
023 |
172-0274
|
Guide wheel |
$18.72
|
4 |
|
usually ships 13-18 days |
024 |
172-0095
|
Bushing |
$41.83
|
2 |
|
usually ships 13-18 days |
026a |
272-2026
|
Squeegee blade kit gum rubber |
$50.78
|
1 |
(OEM)(Individual blade is no longer available alone) |
ships same day |
026b |
991-3110
|
20 inch squeegee blade kit Linatex |
$52.55
|
1 |
(NON-OEM) |
ships same day |
027 |
272-2013
|
Front strap (OBSOLETE) |
$159.50
|
1 |
|
usually ships 13-18 days |
028 |
999-0497
|
Nut M6-1 nylon insert lock stainless steel |
$0.99
|
8 |
|
ships same day |
029 |
999-0497
|
Nut M6-1 nylon insert lock stainless steel |
$0.99
|
4 |
|
ships same day |
030 |
172-2335
|
Roller assembly (OBSOLETE) |
$115.02
|
2 |
|
usually ships 13-18 days |
031a |
272-2026
|
Squeegee blade kit gum rubber |
$50.78
|
1 |
(Individual blade is no longer available alone) |
ships same day |
031b |
991-3110
|
20 inch squeegee blade kit Linatex |
$52.55
|
1 |
(NON-OEM) |
ships same day |
032 |
172-0498
|
Right rear strap (OBSOLETE) |
$31.64
|
1 |
|
usually ships 13-18 days |
033 |
999-0938
|
Nut M6 wing stainless steel |
$6.60
|
2 |
|
ships same day |
034 |
172-4204
|
Screw M4-.7 x 10mm stainless steel |
$9.90
|
2 |
|
usually ships 1-5 days |
035 |
172-0094
|
Latch |
$46.67
|
1 |
|
ships same day |
036 |
999-0954
|
Nut M4-.7 nylon insert lock stainless steel |
$0.99
|
2 |
|
ships same day |
037 |
272-2017
|
Wheel bracket (OBSOLETE) |
$55.65
|
2 |
|
usually ships 1-5 days |
038 |
181-0936
|
Squeegee wheel kit |
$157.54
|
2 |
|
usually ships 13-18 days |
039 |
272-0771
|
Screw M5 x 45 hex head stainless steel |
$10.71
|
4 |
|
usually ships 1-5 days |
040 |
272-2020
|
Squeegee assembly |
$1,405.84
|
1 |
|
usually ships 13-18 days |
042 |
272-2022
|
Spacer (OBSOLETE) |
$9.90
|
2 |
|
usually ships 1-5 days |
043 |
N/A
|
Not available |
Call for price
|
2 |
(Washer M7 thick rubber) |
usually ships 3-26 days |
044 |
272-1937
|
Screw M6-1 x 25mm hex head |
$9.35
|
2 |
|
usually ships 1-5 days |