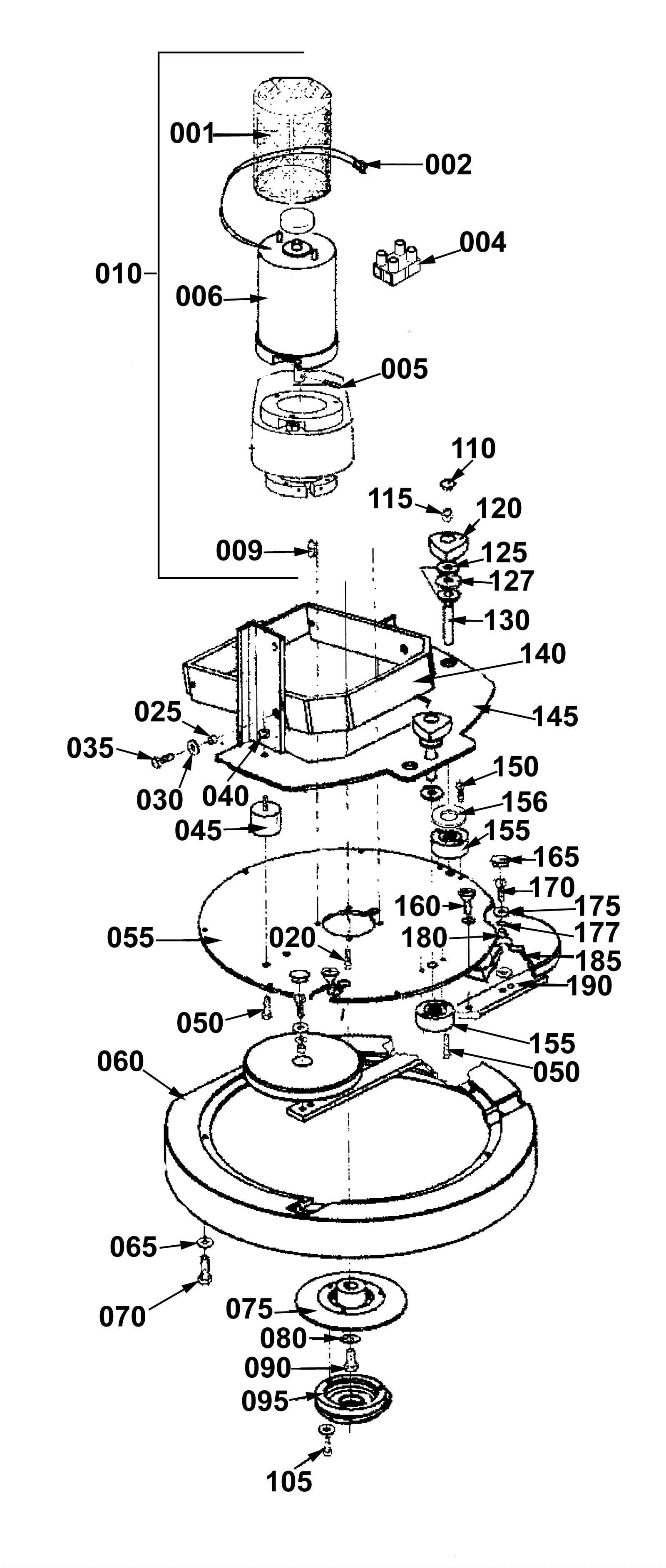
| # | Part | Description | Price | Req | Notes | Availability |
001 |
N/A
|
Not available |
Call for price
|
1 |
(Cylinder wire screen) |
usually ships 3-26 days |
002 |
N/A
|
Not available |
Call for price
|
2 |
(Cable tie) |
usually ships 3-26 days |
003 |
272-1905
|
Brush motor cap (OBSOLETE) |
$6.89
|
1 |
|
usually ships 1-5 days |
004 |
272-1906
|
Terminal block (OBSOLETE) |
$6.53
|
1 |
|
usually ships 1-5 days |
005 |
272-1907
|
Spiral pin (OBSOLETE) |
$6.78
|
1 |
|
usually ships 1-5 days |
006a |
N/A
|
Not available |
Call for price
|
1 |
(24V brush motor) (includes 004, 005, 006b) |
usually ships 3-26 days |
006b |
272-1908
|
Brush motor (OBSOLETE) |
$643.90
|
1 |
|
usually ships 1-5 days |
009 |
181-0942
|
Square keyway |
$51.96
|
1 |
|
usually ships 13-18 days |
010 |
272-2571
|
Brush gear motor assembly |
$2,618.28
|
1 |
Includes 001, 002, 004, 005, 006, and 009. Gear box no longer sold separately. |
usually ships 13-18 days |
020 |
272-1914
|
Screw M6-1 x 16mm hex head |
$10.01
|
4 |
|
usually ships 1-5 days |
025 |
272-7136
|
Bushing (OBSOLETE) |
$11.99
|
4 |
|
usually ships 13-18 days |
030 |
999-1267
|
Washer M8 flat zinc |
$0.99
|
4 |
|
ships same day |
035 |
999-0517
|
Bolt M8-1.25 x 16mm hex head full thread zinc |
$0.99
|
4 |
|
ships same day |
040 |
999-0579
|
Nut M8-1.25 hex coarse thread zinc |
$0.99
|
1 |
|
ships same day |
045 |
272-1919
|
Vibration damping M8 (set of 2) |
$51.96
|
1 |
|
ships same day |
050 |
999-0517
|
Bolt M8-1.25 x 16mm hex head full thread zinc |
$0.99
|
1 |
|
ships same day |
055 |
272-1920
|
Base plate (OBSOLETE) |
$108.90
|
1 |
|
usually ships 1-5 days |
060 |
272-1921
|
Brush cover (OBSOLETE) |
$38.28
|
1 |
|
usually ships 13-18 days |
065 |
172-1686
|
Spacer (OBSOLETE) |
$30.29
|
7 |
|
usually ships 1-5 days |
070 |
272-1923
|
Screw M6-1 x 12mm hex head |
$10.31
|
7 |
|
usually ships 1-5 days |
075 |
572-9298
|
Polygonal flange |
$81.07
|
1 |
|
usually ships 13-18 days |
080 |
272-0758
|
Washer M6 flat (OBSOLETE) |
$9.13
|
1 |
|
usually ships 1-5 days |
090 |
999-0581
|
Bolt M8-1.25 x 25mm hex head full thread zinc |
$0.99
|
1 |
|
ships same day |
095 |
172-0469
|
Brush hub |
$39.83
|
1 |
|
usually ships 13-18 days |
100 |
172-4471
|
Washer M6 |
$8.80
|
3 |
|
usually ships 1-5 days |
105 |
272-1928
|
Screw cylinder |
$13.22
|
3 |
|
usually ships 13-18 days |
110 |
272-8031
|
Plug |
$12.71
|
2 |
|
usually ships 13-18 days |
115 |
272-1930
|
Nut M5 hex |
$14.18
|
2 |
|
usually ships 1-5 days |
120 |
272-1931
|
Knob |
$13.97
|
2 |
|
usually ships 13-18 days |
125 |
999-0006
|
Washer 3/16 flat zinc plated |
$0.99
|
2 |
|
ships same day |
127 |
272-1933
|
Rubber gasket (OBSOLETE) |
$8.80
|
2 |
|
usually ships 13-18 days |
130 |
272-1934
|
Adjustment screw |
$29.55
|
2 |
|
usually ships 13-18 days |
140 |
272-1935
|
Frame (OBSOLETE) |
$62.96
|
1 |
|
usually ships 1-5 days |
145 |
N/A
|
Not available |
Call for price
|
1 |
(Plate) |
usually ships 3-26 days |
150 |
272-1937
|
Screw M6-1 x 25mm hex head |
$9.35
|
2 |
|
usually ships 1-5 days |
155 |
272-7135
|
Buffer |
$29.55
|
2 |
|
ships same day |
156 |
272-1939
|
Vibration damping plate |
$15.62
|
1 |
|
usually ships 13-18 days |
160 |
272-1941
|
Screw M8-1.25 x 12mm countersunk head (OBSOLETE) |
$7.99
|
2 |
|
usually ships 1-5 days |
165 |
172-4695
|
Locking tank cap |
$17.74
|
2 |
|
usually ships 13-18 days |
170 |
999-0581
|
Bolt M8-1.25 x 25mm hex head full thread zinc |
$0.99
|
2 |
|
ships same day |
175 |
999-1267
|
Washer M8 flat zinc |
$0.99
|
2 |
|
ships same day |
177 |
272-1944
|
Washer spring |
$9.13
|
2 |
|
usually ships 1-5 days |
180 |
272-1945
|
Sleeve bushing (OBSOLETE) |
$8.90
|
2 |
|
usually ships 1-5 days |
185 |
272-1666
|
Bumper roller |
$14.21
|
2 |
|
usually ships 13-18 days |
190 |
N/A
|
Not available |
Call for price
|
1 |
(Fitting strip) |
usually ships 3-26 days |
KIT |
272-1940
|
Isolator kit |
$76.54
|
1 |
Inlcudes 150, 156, 155 |
usually ships 13-18 days |