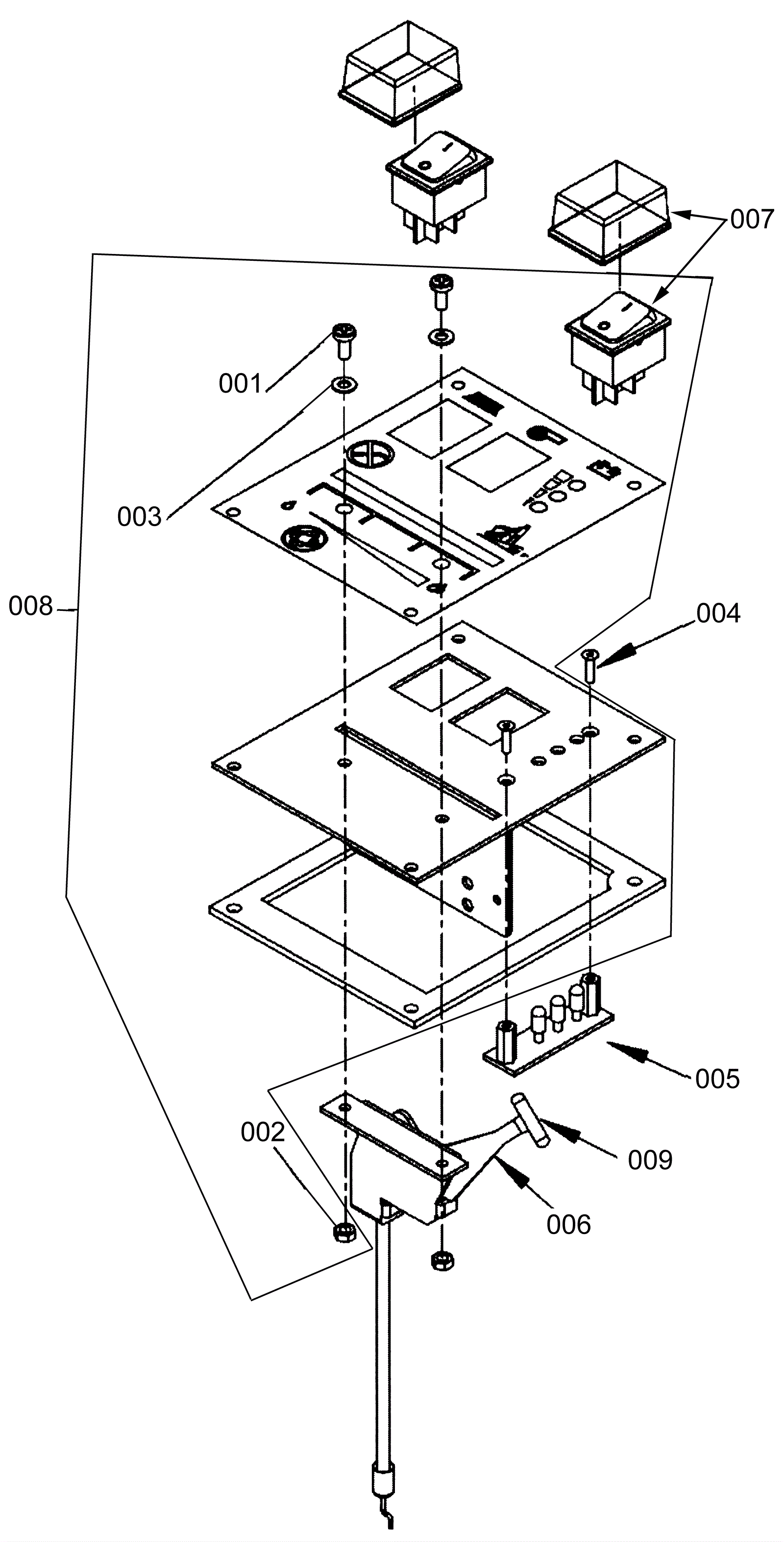
| # | Part | Description | Price | Req | Notes | Availability |
001 |
N/A
|
Not available |
Call for price
|
2 |
(Control panel system hardware kit) Cannot purchase hardware separately |
usually ships 3-26 days |
005 |
272-5469
|
LED card |
$65.07
|
1 |
|
usually ships 13-18 days |
006 |
181-0948
|
Solution cable and lever (water control wire) |
$54.32
|
1 |
|
usually ships 13-18 days |
008 |
N/A
|
Not available |
Call for price
|
1 |
(Control panel with decal kit) |
usually ships 3-26 days |
009 |
181-0951
|
Handle for lever |
$14.21
|
1 |
|
usually ships 13-18 days |