| # | Part | Description | Price | Req | Notes | Availability |
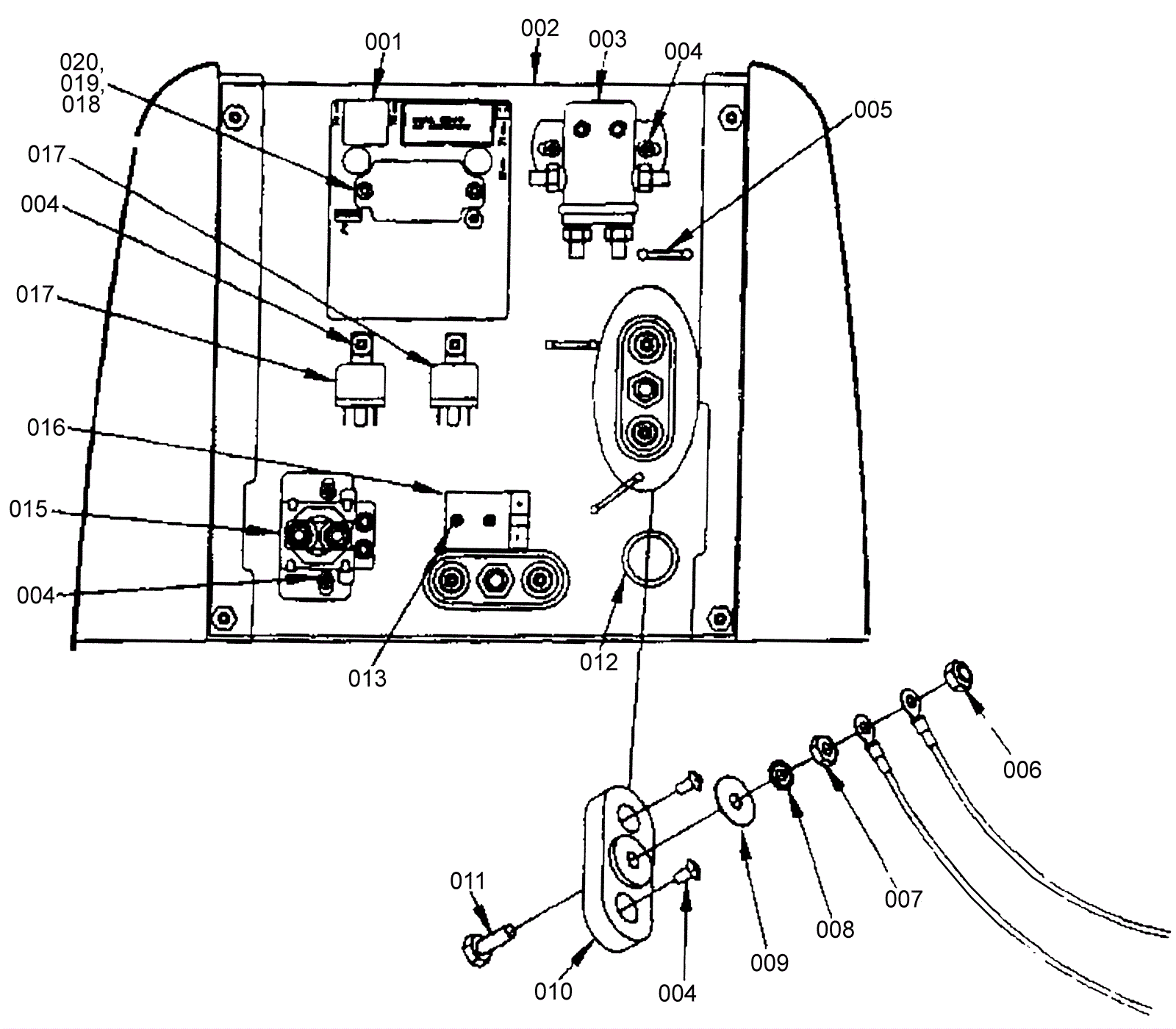
001 |
181-0874
|
DC control panel (OBSOLETE) |
$908.49
|
1 |
|
usually ships 1-5 days |
002 |
N/A
|
Not available |
Call for price
|
1 |
(Steel plate) |
usually ships 3-26 days |
003 |
181-0875
|
24V solenoid (OBSOLETE) |
$218.34
|
1 |
|
usually ships 1-5 days |
004 |
999-0257
|
Screw 5/16-18 x 2 1/2 socket head alloy plain finish |
$1.19
|
10 |
|
ships same day |
005 |
997-2101
|
6 inch cable tie |
$0.99
|
3 |
|
ships same day |
006 |
999-0423
|
Nut 5/16-18 nylon insert lock stainless steel |
$0.99
|
2 |
|
ships same day |
007 |
999-0203
|
Screw 10-24 x 3/4 cup point socket set alloy plain finish |
$0.99
|
2 |
|
ships same day |
008 |
999-0406
|
Washer 5/16 internal star lock zinc plated |
$0.99
|
2 |
|
ships same day |
009 |
181-0786
|
Washer |
$10.52
|
2 |
|
usually ships 1-5 days |
010 |
N/A
|
Not available |
Call for price
|
2 |
(Main terminal insulator) |
usually ships 3-26 days |
011 |
999-0573
|
Screw 5/16-18 x 1 1/4 socket head alloy plain finish |
$0.99
|
2 |
|
ships same day |
012 |
181-0764
|
Grommet (OBSOLETE) |
$9.50
|
1 |
|
usually ships 1-5 days |
013a |
999-0227
|
Nut 6-32 hex nylon insert lock jam zinc plated |
$0.99
|
4 |
|
ships same day |
013b |
999-0511
|
Screw 6-32 x 1 pan head phillips zinc plated |
$0.99
|
2 |
|
ships same day |
015 |
181-0877
|
24V solenoid (OBSOLETE) |
$82.50
|
1 |
|
usually ships 1-5 days |
016 |
181-0878
|
Charger plug assembly (OBSOLETE) |
$37.40
|
1 |
|
usually ships 6-13 days |
017 |
181-0200
|
Power relay (OBSOLETE) |
$126.64
|
2 |
|
usually ships 1-5 days |
018 |
999-0827
|
Screw 8-32 x 1 pan head phillips zinc plated |
$0.99
|
2 |
|
ships same day |
019 |
181-0197
|
Aluminum spacer (OBSOLETE) |
$9.13
|
2 |
|
usually ships 1-5 days |
020 |
999-1036
|
Nut 8-32 hex NTM nylon insert jam lock stainless steel |
$0.99
|
2 |
|
ships same day |
N/S |
N/A
|
Not available |
Call for price
|
1 |
(Drive wire harness) |
usually ships 3-26 days |
N/S |
N/A
|
Not available |
Call for price
|
1 |
Main wire harness |
usually ships 3-26 days |