| # | Part | Description | Price | Req | Notes | Availability |
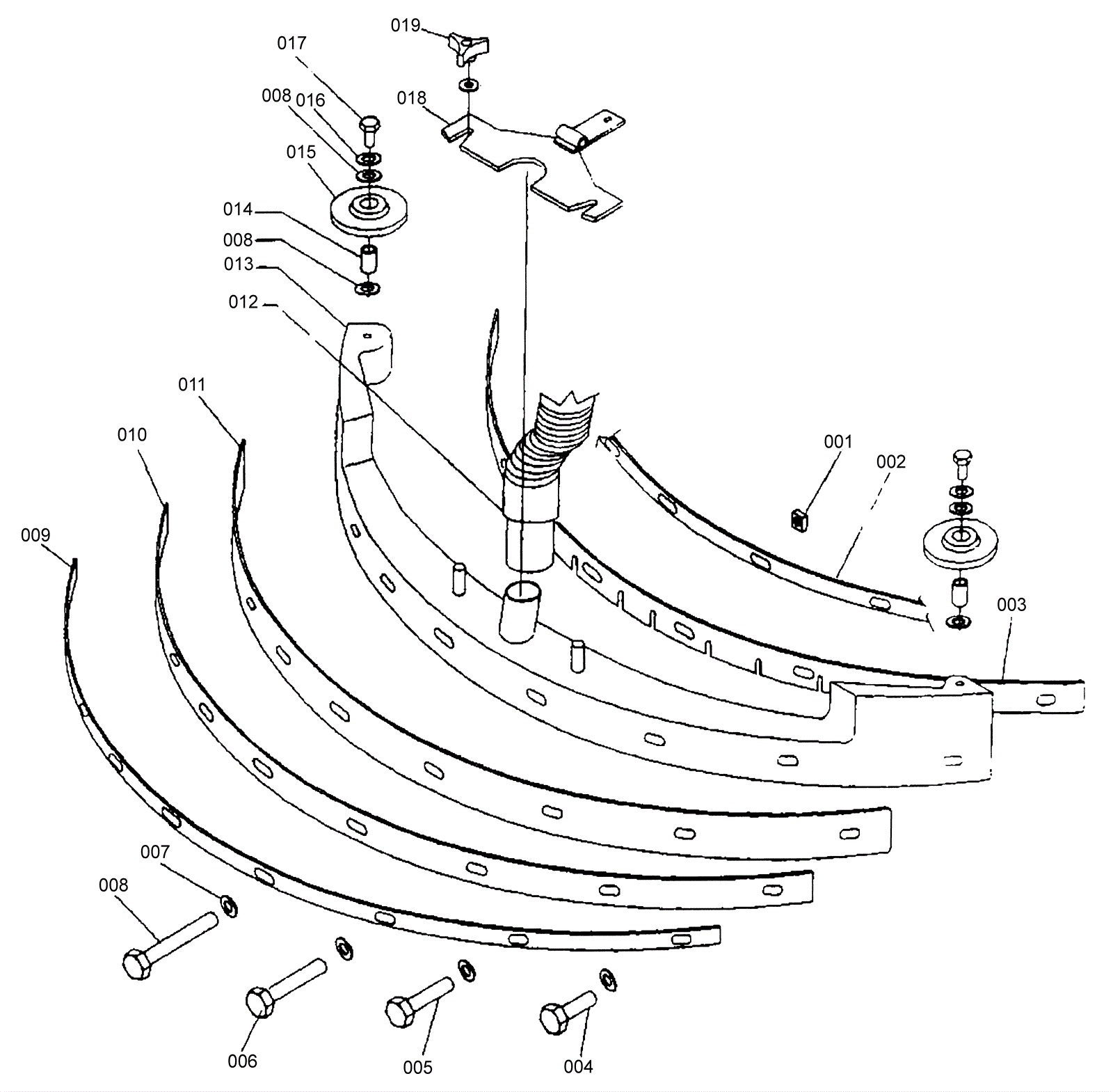
001 |
999-0190
|
Nut 1/4-20 hex plain finish |
$0.99
|
8 |
|
ships same day |
002 |
N/A
|
Not available |
Call for price
|
1 |
(Stainless steel bar) |
usually ships 3-26 days |
003a |
181-0867
|
Squeegee blade 26 inch front gum rubber (tan) |
$31.16
|
1 |
(OEM) |
usually ships 13-18 days |
003b |
994-0066
|
Squeegee blade 26 inch gum rubber front (red) |
$46.21
|
1 |
(NON-OEM) |
usually ships 25-31 days |
004 |
999-0344
|
Bolt 1/4-20 x 1 1/2 hex head plain finish |
$0.99
|
2 |
|
ships same day |
005 |
999-0823
|
Screw 1/4-20 x 2 1/2 hex head plain finish |
$0.99
|
2 |
|
ships same day |
006 |
999-0824
|
Screw 1/4-20 x 3 hex head plain finish |
$0.99
|
2 |
|
ships same day |
007 |
999-0825
|
Screw 1/4-20 x 3 1/2 hex head plain finish |
$0.99
|
2 |
|
ships same day |
008 |
N/A
|
Not available |
Call for price
|
12 |
(Washer) |
usually ships 3-26 days |
009 |
N/A
|
Not available |
Call for price
|
1 |
(Stainless steel bar) |
usually ships 3-26 days |
010a |
181-0869
|
Squeegee backup blade 26 inch neoprene (OBSOLETE) |
$21.01
|
1 |
(OEM) |
usually ships 13-18 days |
010b |
994-0068
|
Squeegee backup blade 26 inch neoprene |
$9.78
|
1 |
(NON-OEM) |
usually ships 25-31 days |
011a |
181-0870
|
Squeegee blade 26 inch rear gum rubber (tan) (OBSOLETE) |
$57.08
|
1 |
(OEM) |
usually ships 13-18 days |
011b |
994-0067
|
Squeegee blade 26 inch gum rubber rear (red) |
$21.83
|
1 |
(NON-OEM) |
usually ships 25-31 days |
012 |
181-0738
|
Hose cuff |
$24.09
|
1 |
|
usually ships 13-18 days |
013 |
N/A
|
Not available |
Call for price
|
1 |
(Squeegee casting) |
usually ships 3-26 days |
014 |
N/A
|
Not available |
Call for price
|
2 |
(Steel spacer) |
usually ships 3-26 days |
015 |
181-0155
|
Wheel 4.00 Dia (OBSOLETE) |
$34.22
|
2 |
|
usually ships 1-5 days |
016 |
N/A
|
Not available |
Call for price
|
2 |
(Washer) |
usually ships 3-26 days |
017 |
999-0424
|
Bolt 5/16-18 x 1 hex head stainless steel |
$0.99
|
2 |
|
ships same day |
018 |
N/A
|
Not available |
Call for price
|
1 |
Squeegee bracket weldment |
usually ships 3-26 days |
019 |
181-0865
|
3-lobe knob (OBSOLETE) |
$9.57
|
2 |
|
usually ships 1-5 days |