| # | Part | Description | Price | Req | Notes | Availability |
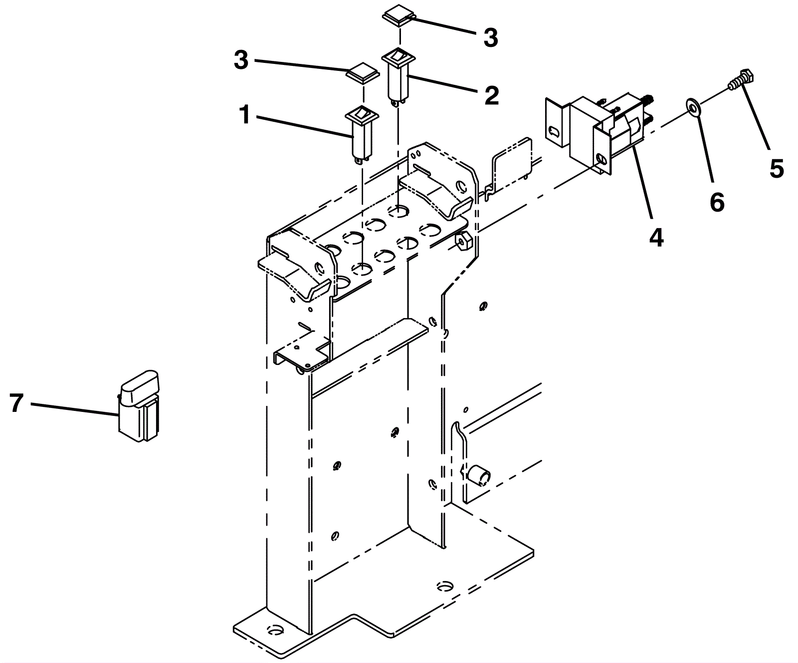
1 |
175-5969
|
15amp circuit breaker (Tennant Industrial) |
$8.34
|
1 |
|
ships same day |
2 |
275-5483
|
2.5amp circuit breaker |
$14.08
|
1 |
|
ships same day |
3 |
275-2596
|
Circuit breaker boot (Tennant Industrial) |
$20.84
|
2 |
|
ships same day |
4 |
175-2373
|
36V contactor |
$38.83
|
1 |
|
ships same day |
5 |
999-0507
|
Bolt M6-1 x 16mm hex head full thread plain finish |
$0.99
|
2 |
|
ships same day |
6 |
999-0016
|
Washer 1/4 flat plain finish |
$0.99
|
2 |
|
ships same day |
7 |
275-7853
|
Diode plug (Tennant Industrial) |
$25.34
|
1 |
|
usually ships 1-5 days |