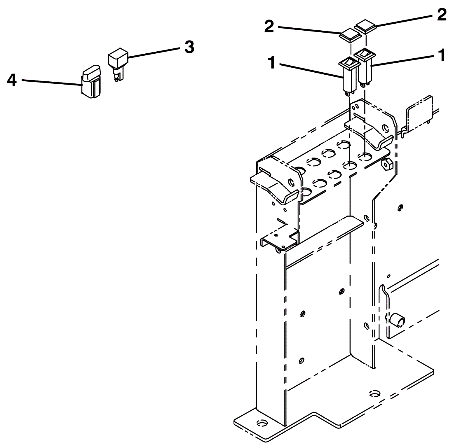
| # | Part | Description | Price | Req | Notes | Availability |
1 |
275-5483
|
2.5amp circuit breaker |
$14.08
|
2 |
|
ships same day |
2 |
275-2596
|
Circuit breaker boot (Tennant Industrial) |
$20.84
|
2 |
|
ships same day |
3 |
175-2216
|
Diode plug |
$14.19
|
1 |
|
usually ships 10-13 days |
4 |
275-4752
|
Capacitor plug |
$18.92
|
1 |
|
usually ships 10-13 days |