| # | Part | Description | Price | Req | Notes | Availability | 
|---|
          
            
            
                
                  
                  
                  
				       
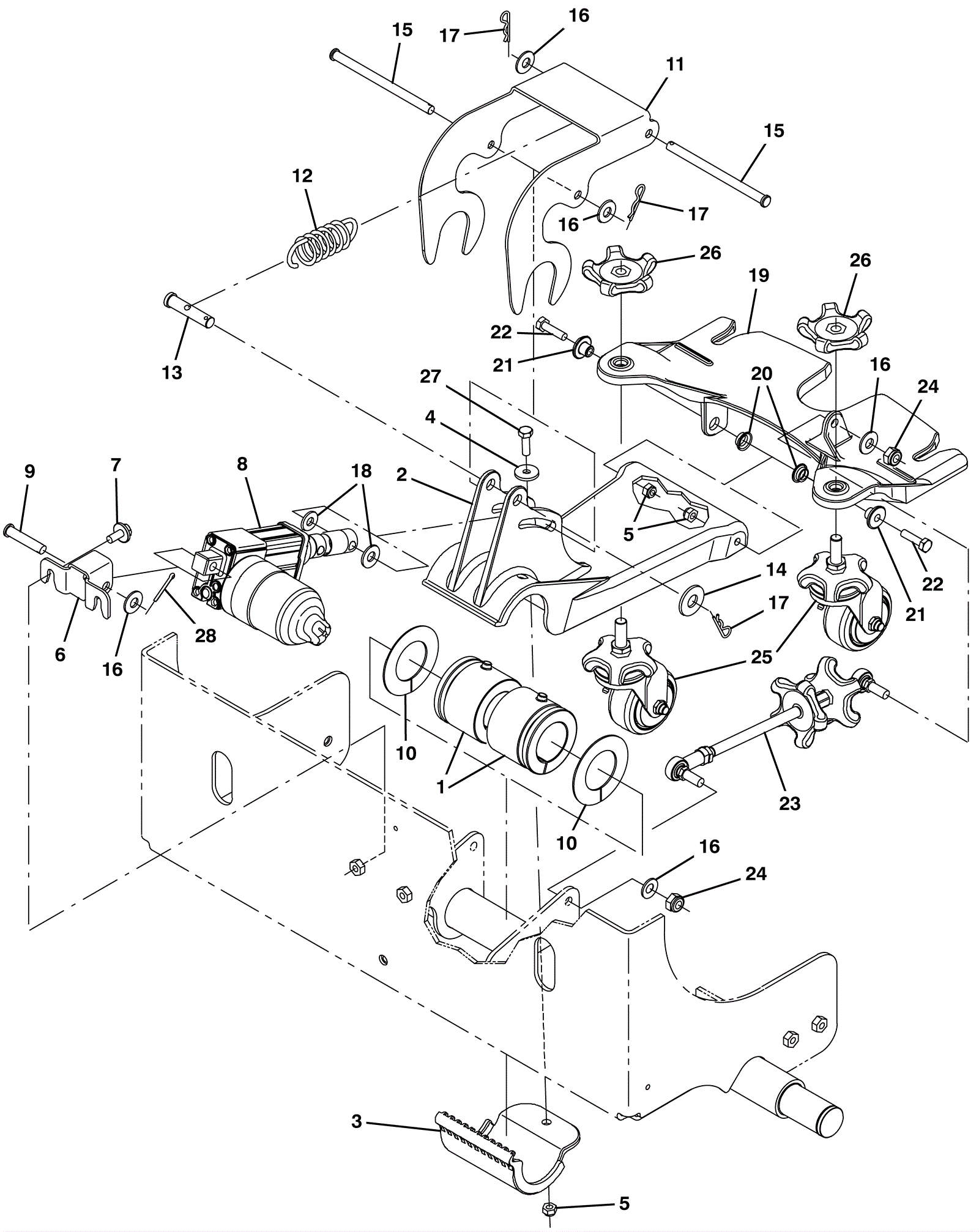
				      1 | 275-7707 | Flex bushing (Tennant Industrial) | $24.34 | 2 |  | usually ships 10-13 days | 2 | 275-7708 | Squeegee arm lift (Tennant Industrial) | $146.03 | 1 |  | usually ships 1-5 days | 3 | 275-7709 | Pivot clamp (Tennant Industrial) | $19.67 | 1 |  | usually ships 10-13 days | 4 | 175-7920 | Washer M8 flat stainless steel | $4.49 | 1 |  | ships same day | 5 | 999-0496 | Nut M8-1.25 nylon insert lock stainless steel | $1.34 | 3 |  | ships same day | 6 | 275-5498 | Actuator mounting bracket (Tennant Industrial) | $27.84 | 1 |  | usually ships 1-5 days | 7 | 275-4736 | Screw M8-1.25 x 20mm hex washer head stainless steel SEMS | $4.49 | 2 |  | ships same day | 8 | 275-7325 | ACTUATOR, 36VDC, 02.0STRK, 0147LB (Tennant Industrial) | $846.84 | 1 |  | usually ships 1-5 days | 9 | 275-8195 | Clevis pin | $6.49 | 1 |  | ships same day | 10 | 275-7711 | Washer plastic (Tennant Industrial) | $5.67 | 2 |  | usually ships 10-13 days | 11 | 275-7712 | Spring tensioner link (Tennant Industrial) | $43.68 | 1 |  | usually ships 1-5 days | 12 | 275-6593 | Spring (TENNANT INDUSTRIAL) | $21.17 | 1 |  | usually ships 10-13 days | 13 | 275-7714 | Clevis pin 2 1/4 inch (Tennant Industrial) | $13.50 | 1 |  | usually ships 1-5 days | 14 | 999-0187 | Washer 1/2 flat plain finish | $0.99 | 1 |  | ships same day | 15 | 275-7715 | Clevis pin 5 1/4 inch (Tennant Industrial) | $6.67 | 2 |  | usually ships 1-5 days | 16 | 999-0355 | Washer 3/8 x 7/8 SAE flat stainless steel | $0.99 | 5 |  | ships same day | 17 | 175-2117 | Cotter pin | $5.28 | 3 |  | usually ships 10-13 days | 18 | 275-8074 | Washer .44 flat nylon | $4.49 | 2 |  | usually ships 1-5 days | 19 | 275-7301 | Aluminum squeegee coupling | $56.32 | 1 |  | usually ships 10-13 days | 20 | 275-7632 | Flanged bushing (Tennant Industrial) | $19.17 | 2 |  | usually ships 10-13 days | 21 | 275-7716 | Flanged sleeve (Tennant Industrial) | $5.67 | 2 |  | usually ships 10-13 days | 22 | 999-0785 | Screw M8-1.25 x 30mm hex head stainless steel | $2.24 | 2 |  | ships same day | 23 | 275-7346 | Turnbuckle replacement | $183.37 | 1 |  | usually ships 10-13 days | 24 | 999-1120 | Nut M10-1.5 nylon insert lock stainless steel | $3.92 | 2 |  | ships same day | 25a | 275-7718 | Swivel caster assembly | $138.05 | 2 |  | usually ships 10-13 days | 25b | 275-5500 | Swivel caster assembly (neoprene) (Tennant Industrial) | $196.87 | 2 |  | usually ships 10-13 days | 26 | 275-7719 | Star knob assembly | $14.19 | 2 |  | usually ships 10-13 days | 27 | 999-0501 | Bolt M8-1.25 x 25mm hex head full thread stainless steel | $2.64 | 1 |  | ships same day | 28 | 175-3281 | Cotter pin | $3.30 | 1 |  | usually ships 10-13 days |