| # | Part | Description | Price | Req | Notes | Availability |
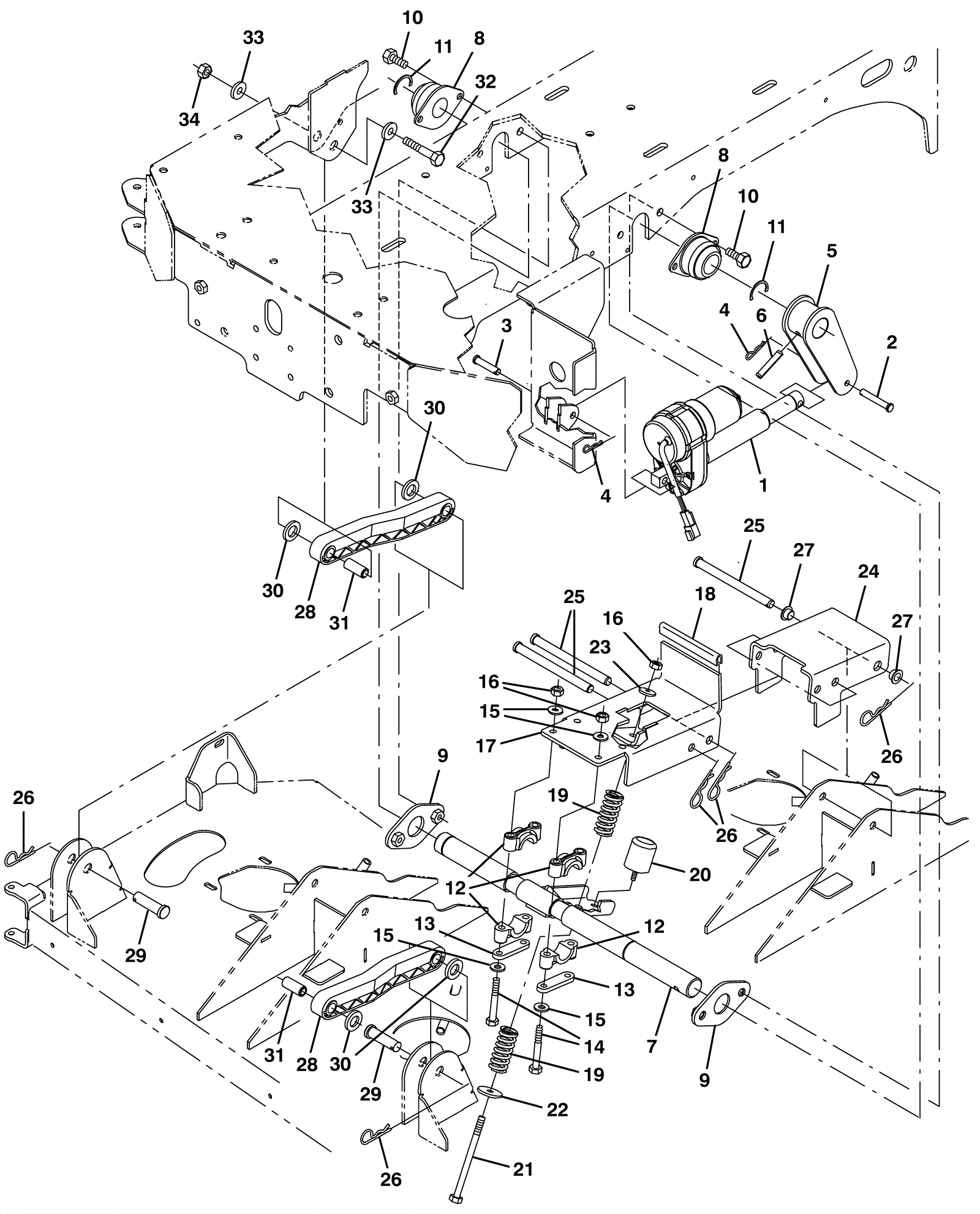
1 |
275-7330
|
ACTUATOR, 36VDC, 05.0STRK, 0500LB (Tennant Industrial) |
$728.31
|
1 |
|
usually ships 10-13 days |
2 |
175-2185
|
Clevis pin |
$4.36
|
1 |
|
ships same day |
3 |
175-2592
|
Clevis Pin 0.37 D X 1.75 L |
$5.28
|
1 |
|
ships same day |
4 |
175-2117
|
Cotter pin |
$5.28
|
2 |
|
usually ships 10-13 days |
5 |
275-1253
|
Lift arm weldment (Tennant Industrial) |
$202.87
|
1 |
|
usually ships 1-5 days |
6 |
175-9781
|
Roll pin 3/8d x 2l .375/.382 |
$4.49
|
1 |
|
usually ships 1-5 days |
7 |
275-1254
|
Lift shaft weldment (Tennant Industrial) |
$306.89
|
1 |
|
usually ships 1-5 days |
8 |
275-7612
|
Flanged bearing (Tennant Industrial) |
$35.51
|
2 |
|
usually ships 10-13 days |
9 |
275-1255
|
Arm flange lift (Tennant Industrial) |
$26.01
|
2 |
|
usually ships 1-5 days |
10 |
999-1372
|
Bolt M10-1.5 x 25mm hex head stainless steel |
$3.56
|
4 |
|
ships same day |
11 |
175-9783
|
Retaining ring 1 1/4d |
$4.49
|
2 |
|
usually ships 1-5 days |
12 |
175-6807
|
BEARING, SPLIT, 1.00B (Tennant Industrial) |
$12.17
|
4 |
|
usually ships 10-13 days |
13 |
175-6806
|
PLATE, SPPT (Tennant Industrial) |
$23.50
|
2 |
|
usually ships 1-5 days |
14 |
999-0909
|
Bolt M8-1.25 x 70mm hex head stainless steel |
$3.83
|
4 |
|
ships same day |
15 |
999-0024
|
Washer 5/16 flat stainless steel |
$1.34
|
8 |
|
ships same day |
16 |
999-0496
|
Nut M8-1.25 nylon insert lock stainless steel |
$1.34
|
5 |
|
ships same day |
17 |
275-1256
|
Front head lift bracket weldment (Tennant Industrial) |
$93.85
|
1 |
|
usually ships 1-5 days |
18 |
275-8203
|
Molding |
$48.40
|
5 |
|
usually ships 1-5 days |
19 |
275-1257
|
Compression spring (Tennant Industrial) |
$9.84
|
2 |
|
usually ships 1-5 days |
20 |
275-1258
|
Bumper (Tennant Industrial) |
$35.17
|
1 |
|
usually ships 1-5 days |
21 |
275-8726
|
SCREW, HEX, M8 X 1.25 X 130, SS (Tennant Industrial) |
$12.17
|
1 |
|
usually ships 1-5 days |
22 |
275-5384
|
Flat washer (Tennant Industrial) |
$9.50
|
1 |
|
usually ships 10-13 days |
23 |
175-7920
|
Washer M8 flat stainless steel |
$4.49
|
1 |
|
ships same day |
24 |
275-1259
|
Rear head lift channel (Tennant Industrial) |
$38.84
|
1 |
|
usually ships 1-5 days |
25 |
175-5332
|
Clevis pin 1/2 x 6 |
$10.01
|
3 |
|
usually ships 10-13 days |
26 |
175-2106
|
Cotter hair pin |
$4.49
|
5 |
|
ships same day |
27 |
175-5995
|
BUSHING, FLNG, 0.50B 0.59D 0.38L (Tennant Industrial) |
$10.84
|
2 |
|
usually ships 1-5 days |
28 |
175-2102
|
Scrub head lifting arm |
$53.46
|
2 |
|
usually ships 10-13 days |
29 |
175-2105
|
Clevis pin |
$7.37
|
2 |
|
usually ships 10-13 days |
30 |
275-1260
|
Round spacer (Tennant Industrial) |
$9.00
|
4 |
|
usually ships 10-13 days |
31 |
275-1261
|
Sleeve (Tennant Industrial) |
$15.67
|
2 |
|
usually ships 10-13 days |
32 |
175-0792
|
Bolt M10-1.5 x 60mm hex head stainless steel |
$7.37
|
2 |
|
usually ships 10-13 days |
33 |
999-0355
|
Washer 3/8 x 7/8 SAE flat stainless steel |
$0.99
|
4 |
|
ships same day |
34 |
999-1120
|
Nut M10-1.5 nylon insert lock stainless steel |
$3.92
|
2 |
|
ships same day |