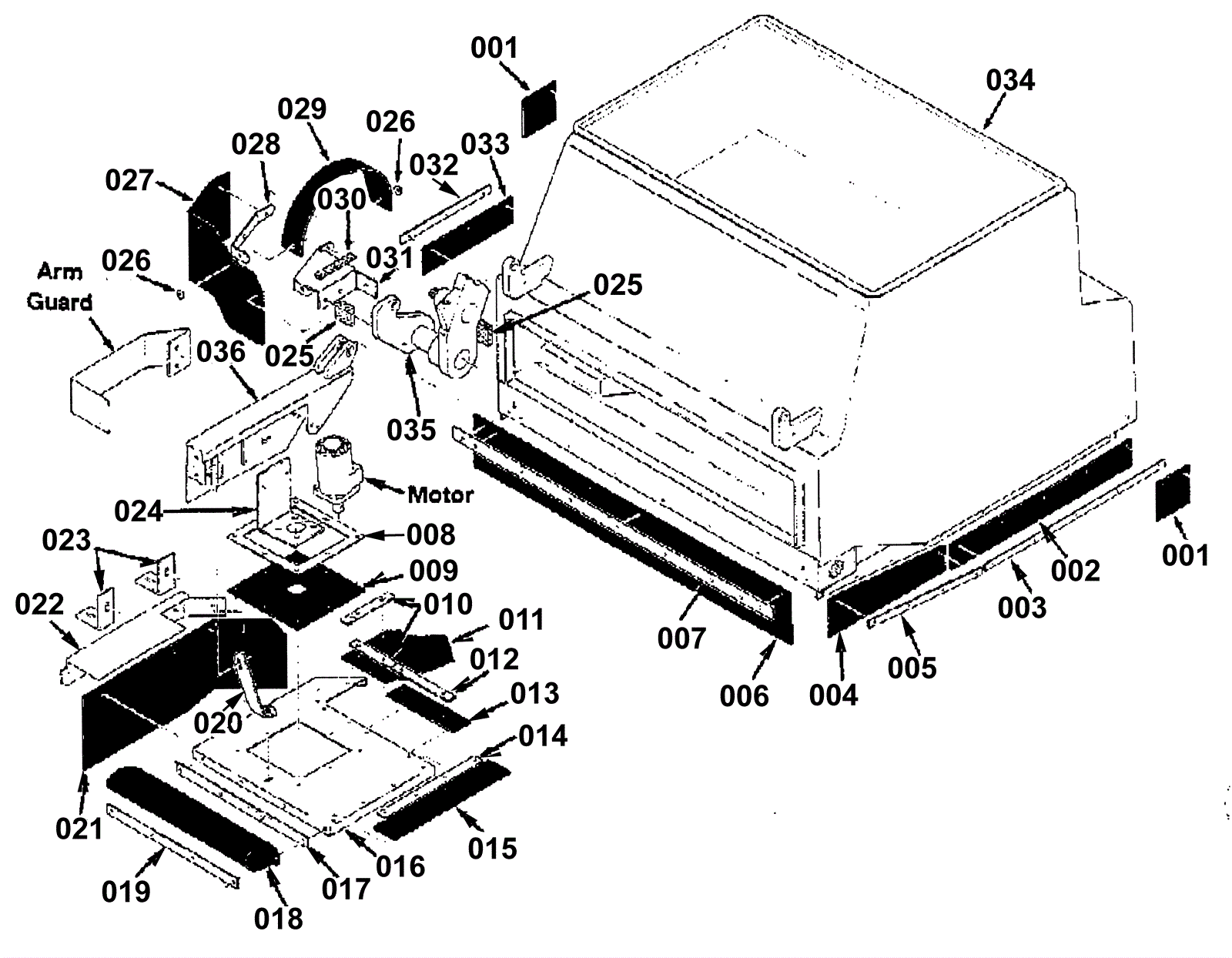
Side Brush Dust Control Kit (With Hopper), Multi-Level Dump
Click to enlarge