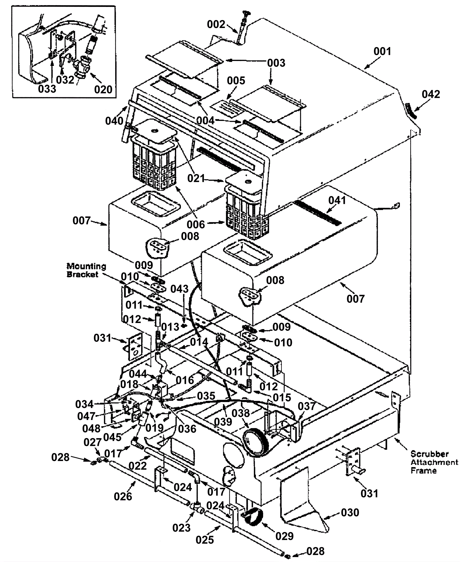
Solution Tanks Groups
Click to enlarge