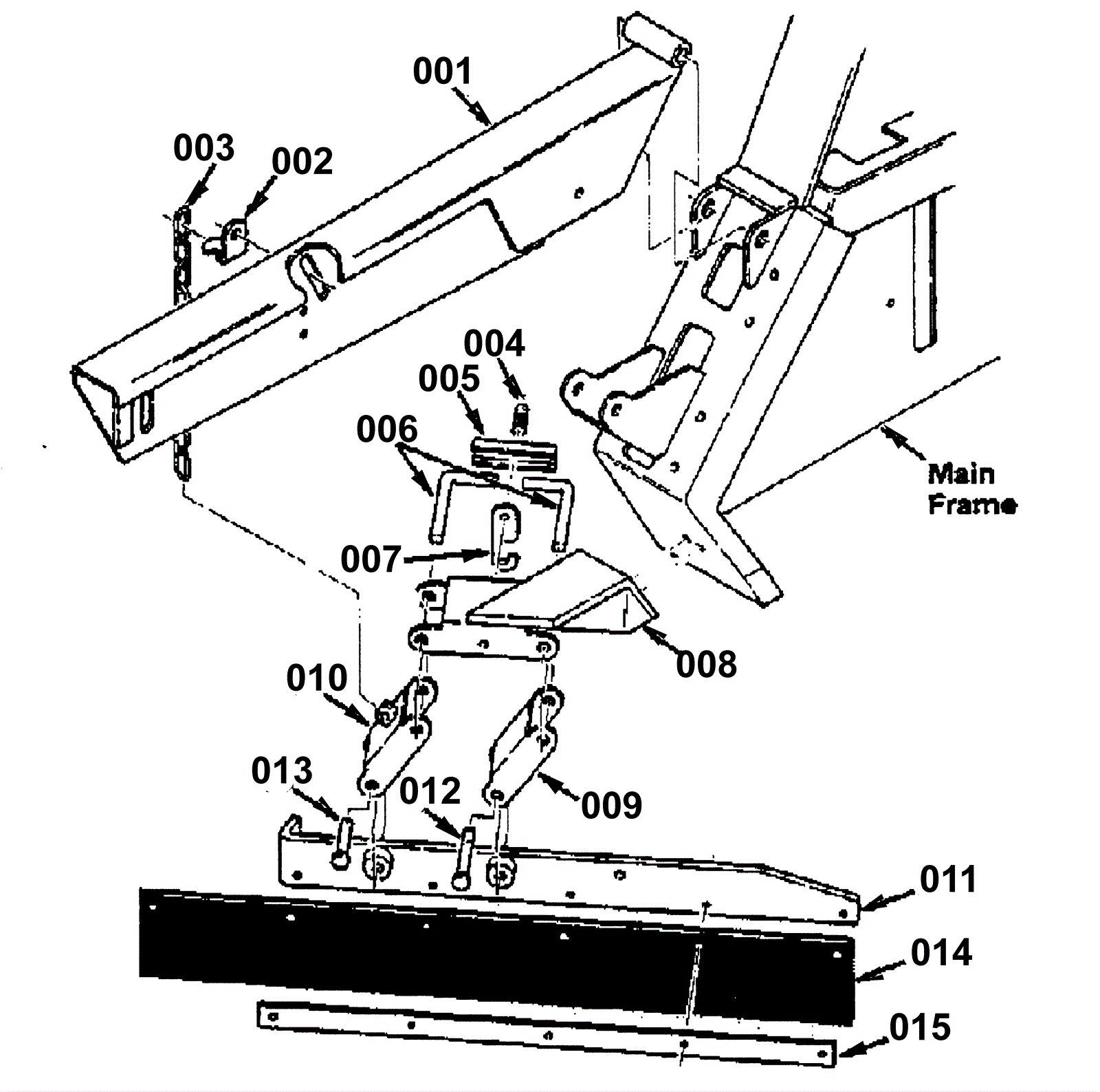
Side Squeegee Group
Click to enlarge