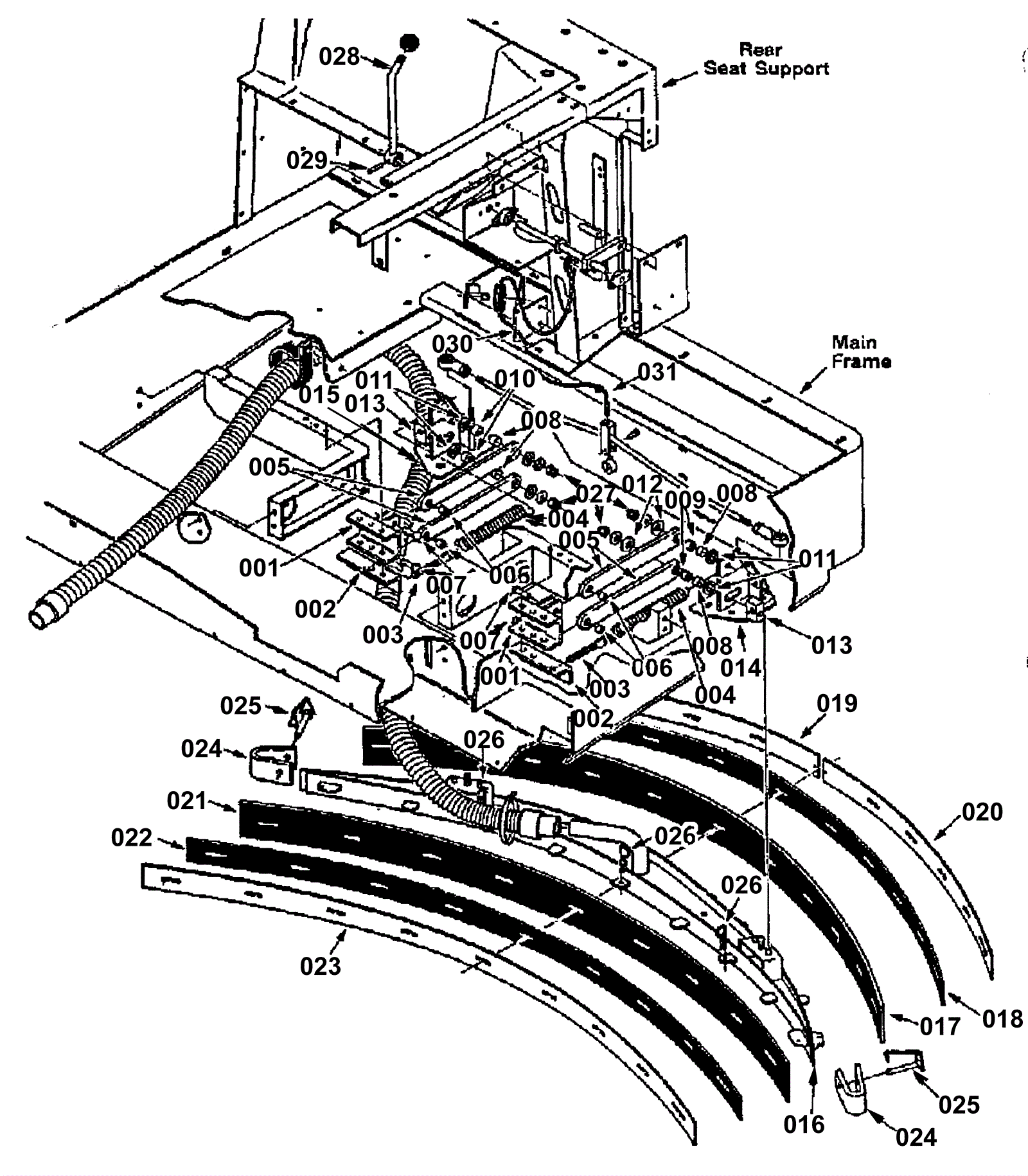
Rear Squeegee Update Group
Click to enlarge