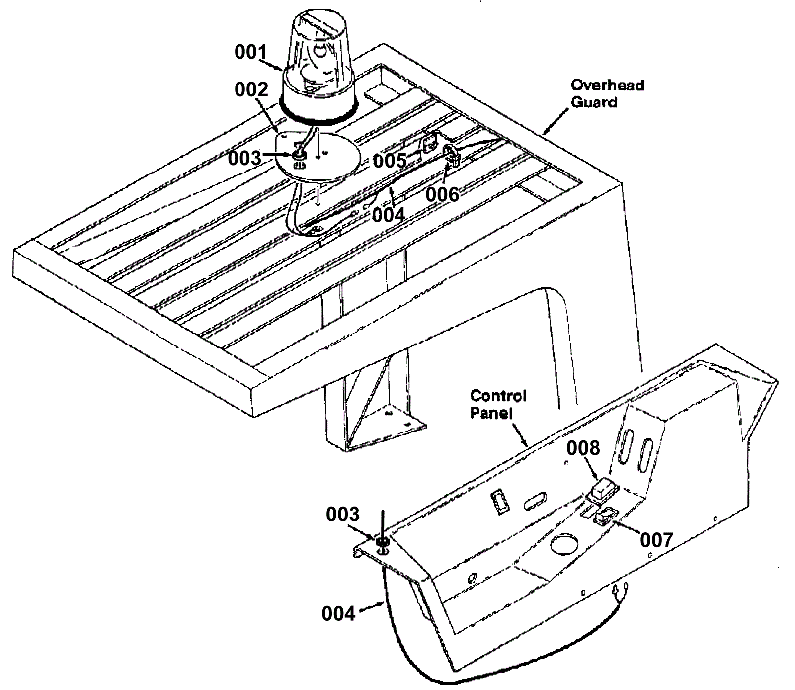
Rebolving Light Kit, Overhead Guard
Click to enlarge