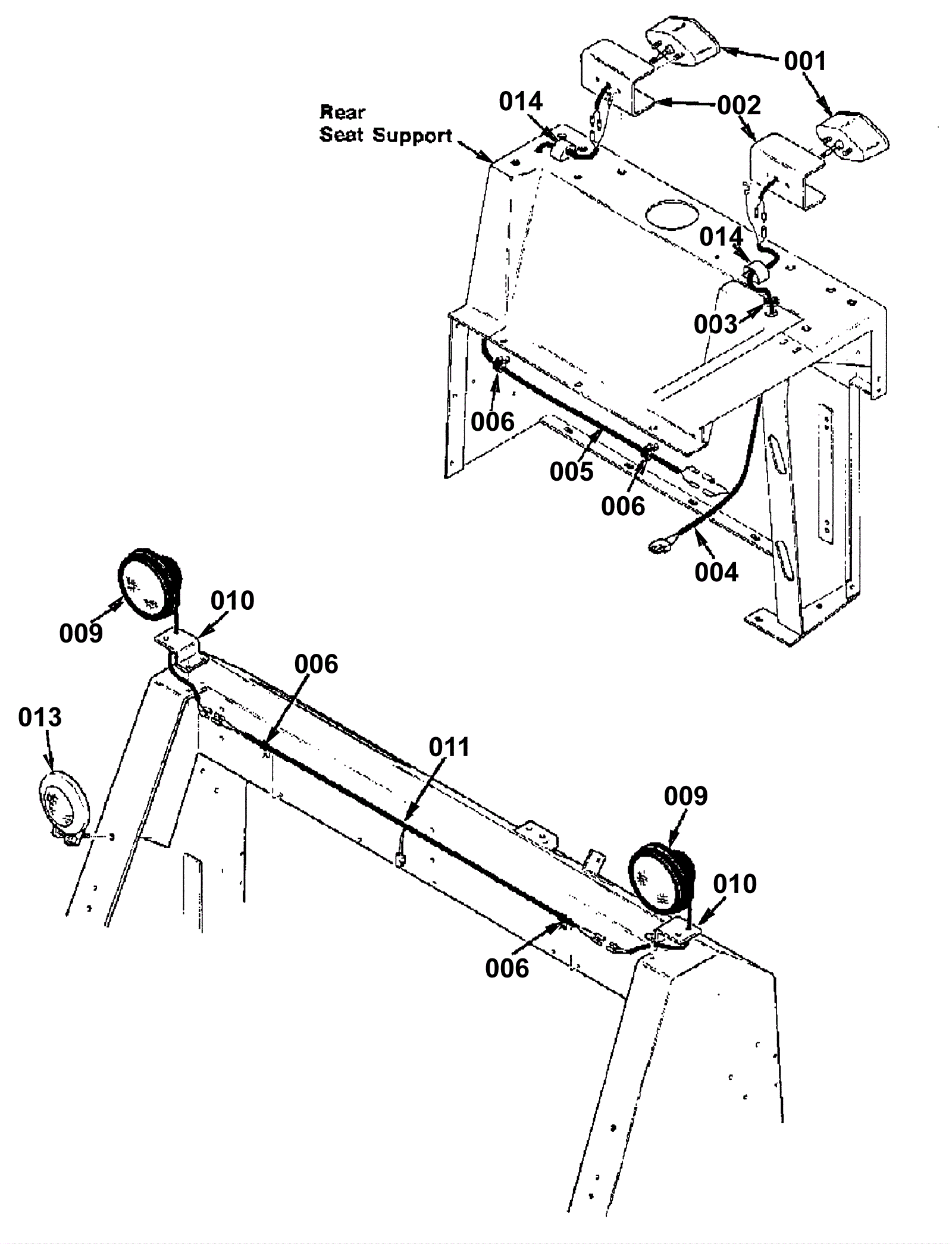
Headlight, Taillight, and Spotlight Kit Lintel (1)
Click to enlarge