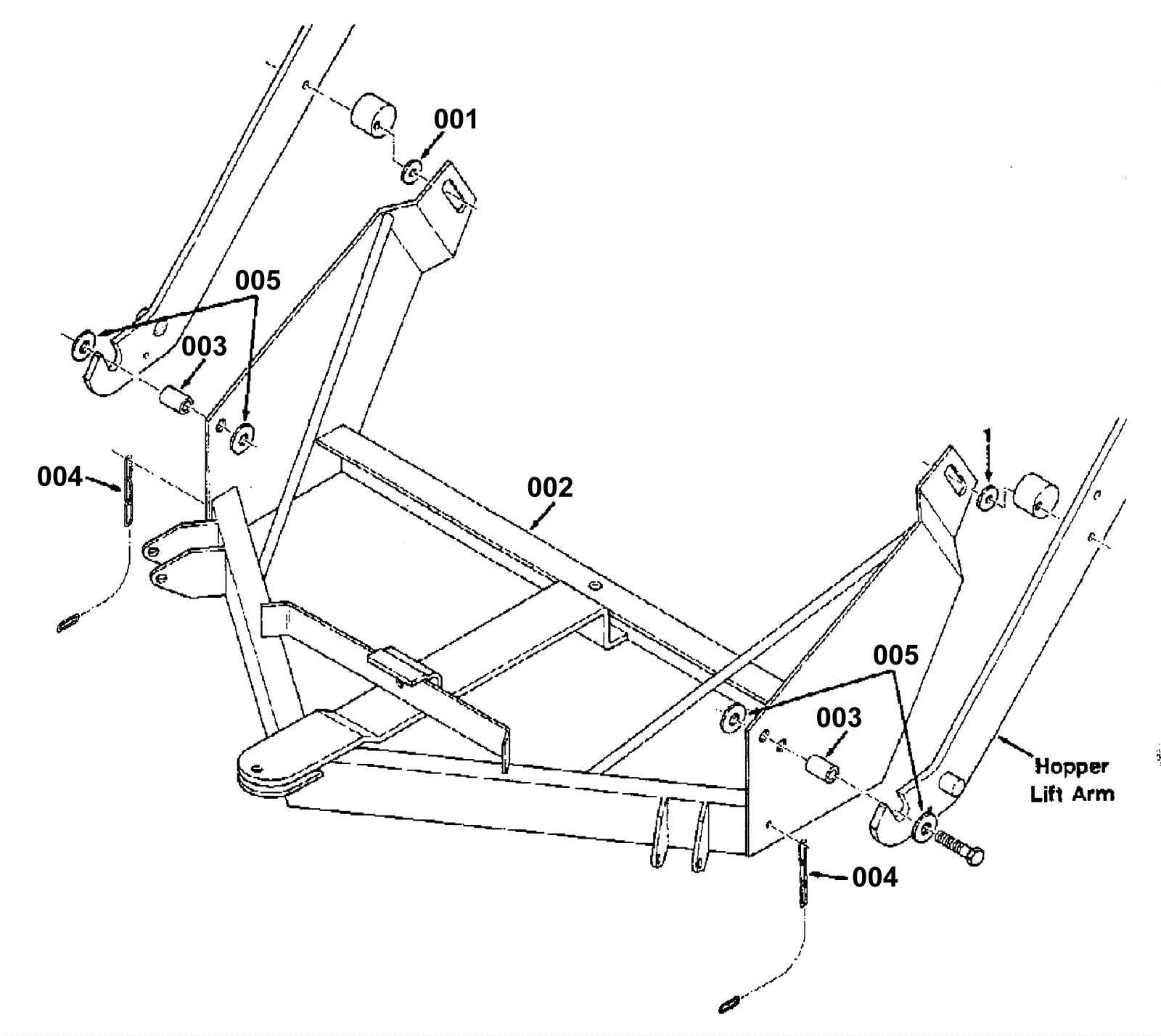
Mount Frame Kit
Click to enlarge