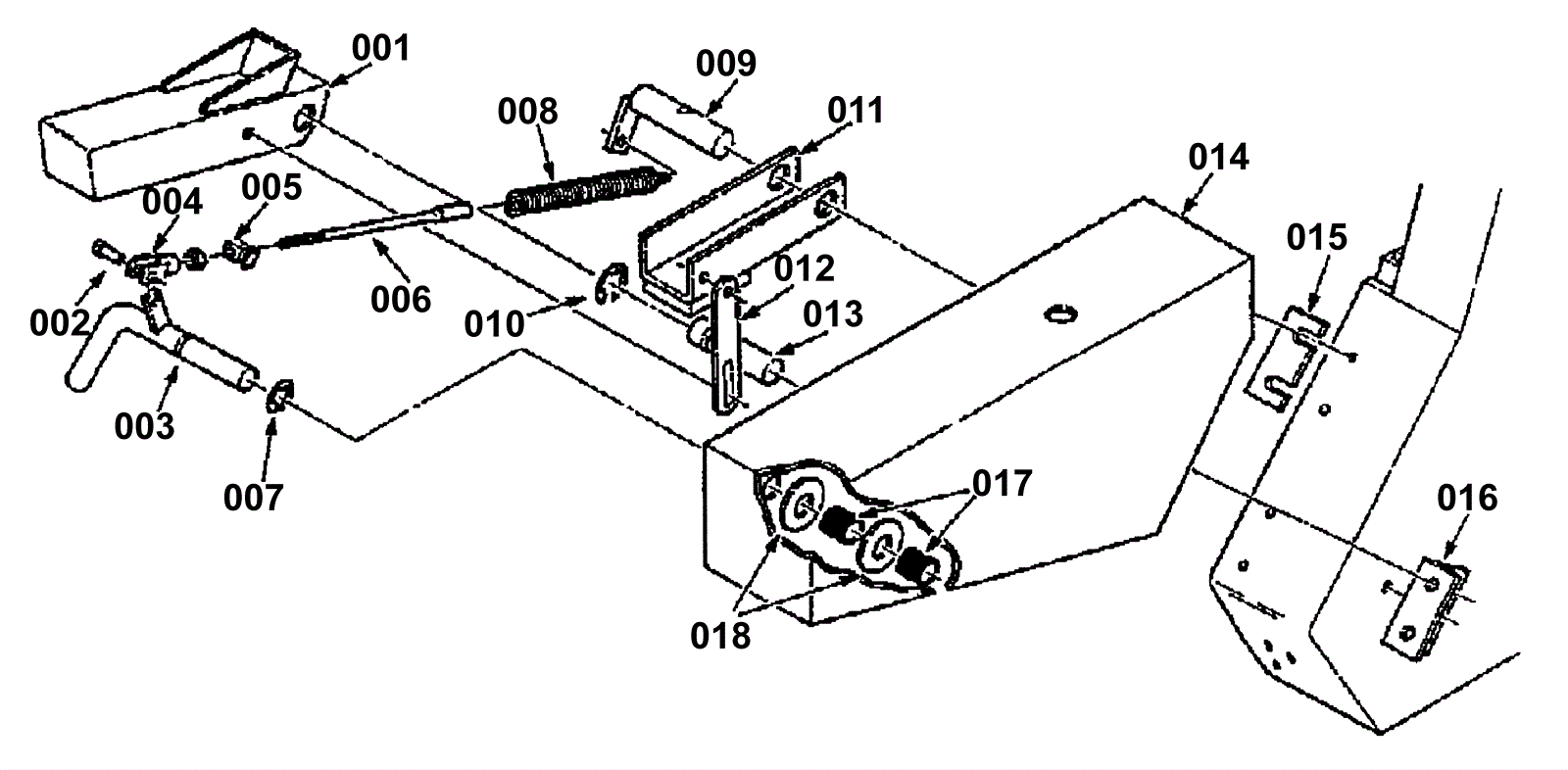
Stabilizer Leg Group, Multi-Level Dump
Click to enlarge