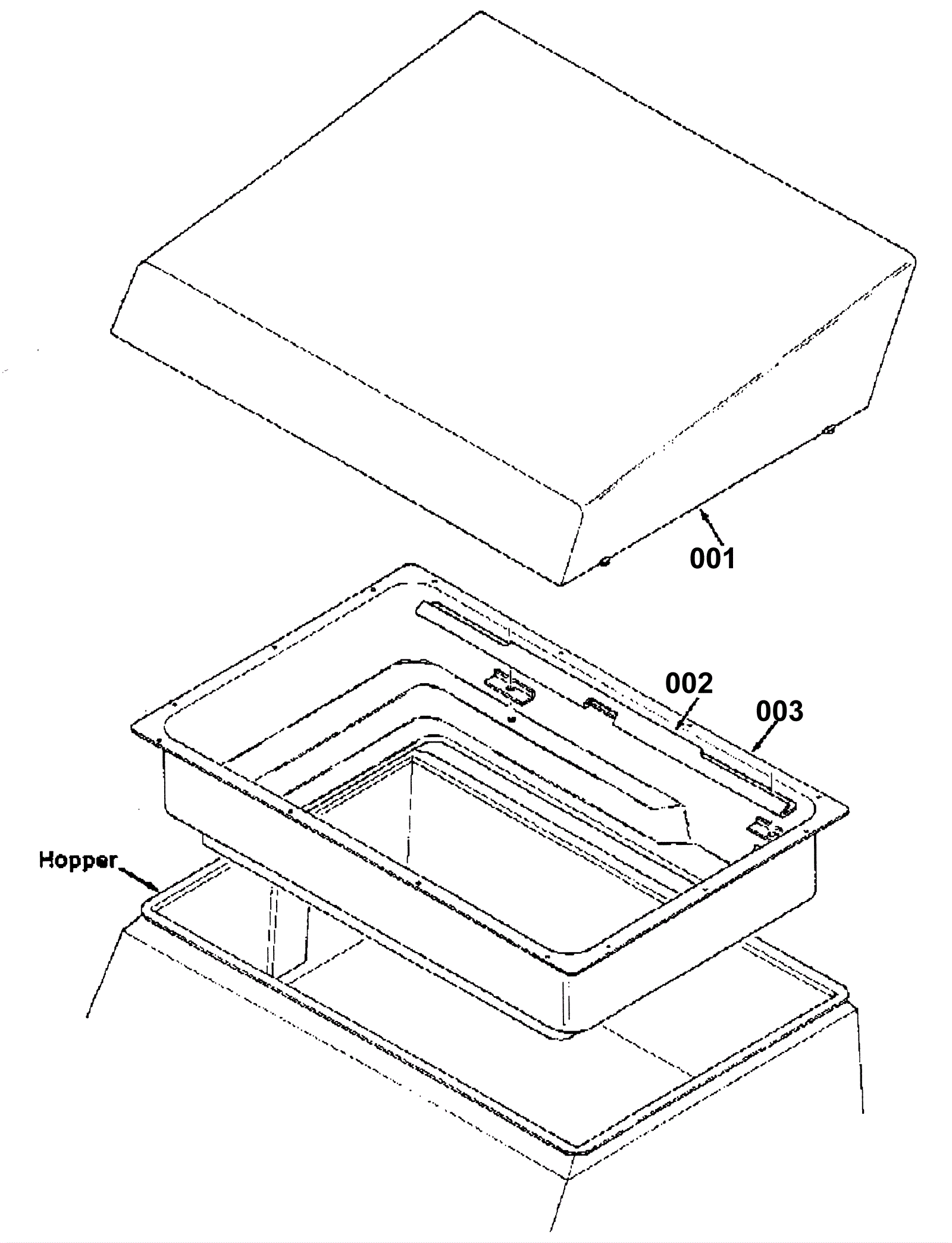
Hopper Cover and Filter Carriers Groups, Multi-Level Dump
Click to enlarge