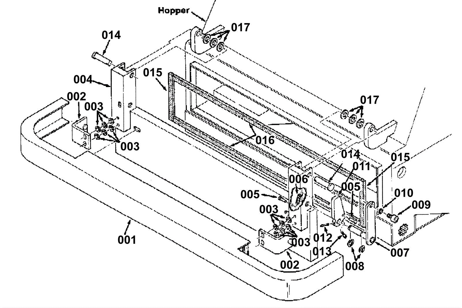
Hopper Door Assembly, Multi-Level Dump
Click to enlarge