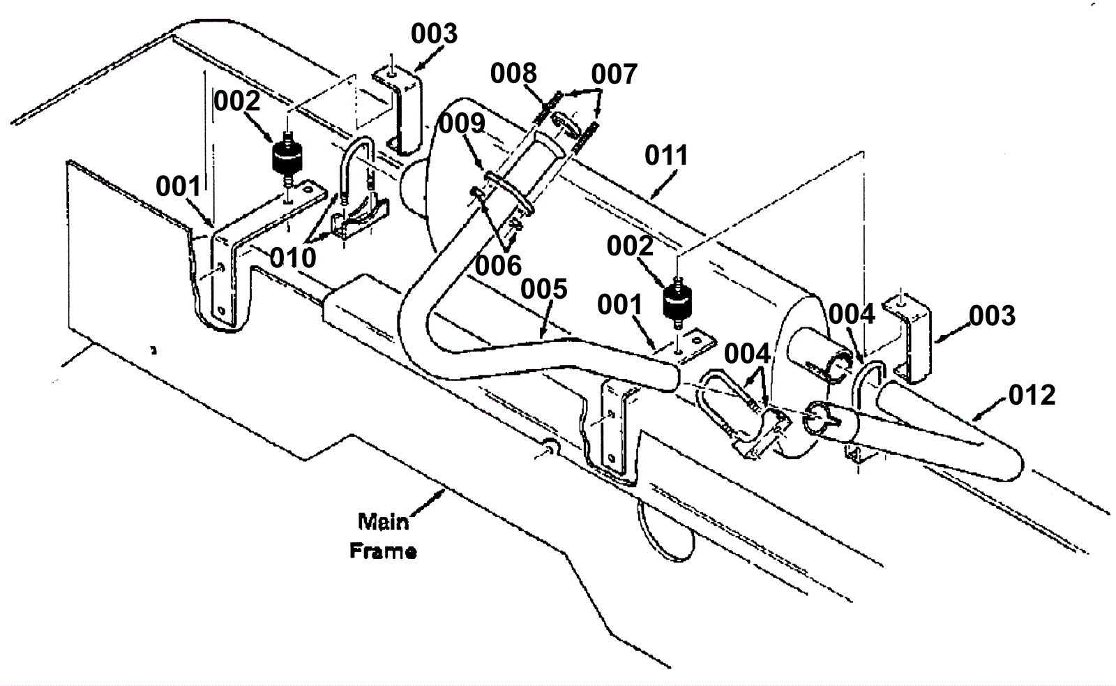
Muffler Group
Click to enlarge