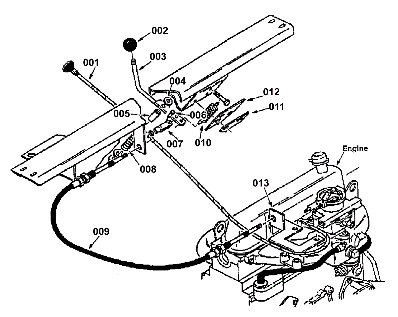
Throttle Linkage Group
Click to enlarge